Gerse Károly

Kazánok

2., javított kiadás


2.2.2.1. Gőzkazánok természetes cirkulációval

A legegyszerűbb konstrukciós kialakításoknál a folyadék és gőze közötti sűrűségkülönbséget használjuk ki a fűtőfelületek hűtését biztosító közegáramlás megindítására, folyamatos fenntartására. A lehetőség azonban korlátozott, és felhasználása lényegesen befolyásolja a berendezés kialakítását:
  • Ugyanis a sűrűségkülönbség a nyomással csökken, így ilyen kazánok üzembiztosan csak mintegy 175 bar frissgőznyomásig (195 bar dobnyomásig) építhetők. A nagyobb nyomások mellett kialakuló áramlási sebességek már nem tudnák biztosítani az elgőzölögtető felületek kellő hűtését.
  • Másrészt, miután a felhajtóerő, , a geodetikus magassággal növekszik (részletesen lásd 2.2.2.3. fejezetben) a kisebb sűrűségkülönbséget bizonyos mértékig a magasság növelésével ellensúlyozni lehet. Ezért amíg mintegy 40–60 bar nyomásig az ipari gőzkazánok alacsonyak lehetnek és vízszintes füstgázvezetéssel is építhetők, addig efölött csak függőleges füstgázvezetésű kazánok készülnek, és a nyomás növelésével a kazán (elgőzölögtető rendszer) magasságát is növelni kell.
 
További jellegzetesség, amely az 1.4. ábrához kapcsolódó magyarázattal van összhangban: kisebb nyomásoknál csaknem mindig találunk konvektív elgőzölögtetőt is, nagyobb nyomásoknál azonban ilyen fűtőfelületre a párolgáshő csökkenése miatt már nincs szükség, illetve lehetőség. Ennek ellenére bizonyos kazángyártók [2] még 150 bar kazánnyomásnál is alkalmaznak a túlhevítők után elhelyezett, Stirling-rendszerű (kétdobos) elgőzölögtető felületet.
A különféle vevői igények lehető leggyorsabb, legjobb minőségű teljesítéséhez a már említett sorozatgyártás mellett minimalizálni kell a drága, időigényes helyszíni szerelés mennyiségét is. Ennek érdekében a kazánokat tipizálják, típuselemekből állítják össze, kisebb teljesítményű berendezéseknél lehetőség szerint a nyomástartó részt (akár a hőszigeteléssel is) a gyártóműben készre szerelik (2.65. ábra).
 
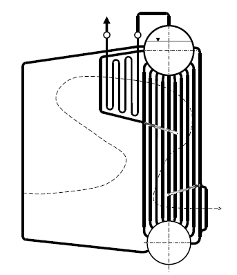
Ipari kazánok: A modern vízcsöves kazánok kisebb nyomásnál is (2.44. ábra, 2.45. ábra, 2.46. ábra) besugárzott tűztérrel rendelkeznek, rendszerint kéthuzamúak, de háromhuzamú elrendezésben is készülnek (2.46. ábra). Kéthuzamú kivitelnél, amelyet általában 8–40 t/h a gőzteljesítményre, 45 bar gőznyomásig, 450 °C gőzhőmérsékletig ajánlanak, az oldal- és válaszfali membránfal csövei az alsó dobból indulnak, és a felső kazándobba kötnek be (2.44. ábra). A második huzami elgőzölögtető felület a kazándob kisebb gyengítésére minden esetben sakktáblás csőosztással készül. A változó névleges teljesítményigényhez a tipizált tűztér keresztmetszetméreteivel és a kazán hosszúságának lépcsős változtatásával alkalmazkodnak.
 
2.44. ábra. Vízcsöves kazán keresztmetszete
 
A tüzelőberendezéseket (egy vagy több szénhidrogén-égő) a kazán homlokfalára építik be. Rostélytüzelés esetén a rostélyt a tűztérfenék helyére építik be, ezért a tűztér szélességét a rostély szélességének megfelelően kell választani (2.51. ábra). Az oldalfal tűztérfeneket és tűztértetőt alkotó részei a szükséges hajlásszöggel (a fenéknél legalább 7–10, a tetőnél legalább 10–15 fok) készülnek. A homlok és a hátfal alsó és felső kamrát összekötő, egyenes csövekből áll. A kamrákat nagy átmérőjű vízbekötő, illetve összekötő csövekkel kötik össze az alsó, illetve felső kazándobbal.
 
2.45. ábra. Kéthuzamú vízcsöves kazán hosszmetszete
 
A kazán hosszát elsősorban a láng hosszúsága, az égéstermékek biztonságos lehűtése határozza meg. Olyan berendezések is készülnek, ahol a tűzteret is tartalmazó első huzam hosszabb a lánghosszúságnál és a második huzamba egy, a láng hosszúságának megfelelő távolságban elhelyezett, a hátfallal párhuzamos forrcsövekből álló fal (2.60. ábra) megkerülésével léphet át a füstgáz. Az így beépített, két oldalról fűtött elgőzölögtető felület jelentősen növelheti a kazán teljesítőképességét, egyúttal csökkenti az átlépő keresztmetszetben lévő elgőzölögtető csövek, illetve a túlhevítő felületek meghibásodásának veszélyét is.
A tűzteret határoló, jól fűtött elgőzölögtető felületek bizonyosan forrcsövek. Az alsó és felső kazándobot összekötő, gyengébben fűtött konvektív elgőzölögtető csövek rendszerint ejtőcsőként viselkednek. A tűztér fenekét, elgőzölögtető huzamokban a kazándobok, kamrák füstgázzal érintkező felületeit – az egyenlőtlen fűtés és a korrózió elkerülésére – minden esetben kellő vastagságú tűzálló téglával, masszával borítják. A túlhevítőt – a közbenső hőmérséklet-szabályozás érdekében – rendszerint osztott kivitelben, vízszintesen fektetett csőkígyókból összeállítva, a második huzam elején helyezik el. Kialakítása a gőzhőmérséklettől függően lehet egyen- vagy ellenáramú, a csőosztás rendszerint sakktáblás. A vízhevítő külön egységet alkot, és a füstcsatorna elrendezés szempontjából kedvező szakaszában kerül elhelyezésre. Mindig ellenáramú, sakktáblás csőosztással készül.
 
2.46. ábra. Háromhuzamú vízcsöves kazán hosszmetszete
 
A 60–250 t/h gőzteljesítményre is ajánlott háromhuzamú kivitelnél (2.46. ábra) nem fekvő, hanem inkább a tűztértetőn, felső kazándobon nyugvó acélszerkezetre felfüggesztett vagy az alapkereten alátámasztott túlhevítőt alkalmaznak, és (a 2.50. ábrán vázolt megoldáshoz hasonlóan) gyakori az oldal- és válaszfali forrcsövek alsó, felső kamrákba történő csatlakoztatása, melyeket nagy átmérőjű csövekkel kötnek össze az alsó dobbal, illetve a felső dob gőzterével.
Miután a két oldalról fűtött többletválaszfallal az elgőzölögtető felülete megnövekszik, és a harmadik huzam elején a túlhevítőknek nem kell helyet hagyni, a tápvíz-előmelegítő felület is elhelyezhető a kazánban. Ugyanakkor a nagyobb szélesség miatt az ilyen berendezéseknél csak speciális esetben (pl. hajón történő helyszínre szállítás) lehet mód a nyomástartó rész gyári összeállítására, nyomáspróbájára. A névleges teljesítményigényt általában a kazán magasságával, hosszúságával követik.
 
2.47. ábra. Függőleges füstjáratú vízcsöves kazán
 
A nyomás, a kazánteljesítmény növekedésével a kazán magasságát a teljesítményigénytől függetlenül is növelni kell (2.47. ábra). Az égők a kazán homlokfalára vagy a tűztér fenekére kerülnek. A túlhevítő felületet széthúzott, válaszfali forrcső-ráccsal árnyékolják. A láng végének átkeverésére csaknem minden konstrukciónál terelést alkalmaznak. A két oldalfal alsó kamrákból indul, és felső kamrákba köt be. A kamrákat nagy átmérőjű csövek kötik össze a kazándobokkal. A két kazándobot összekötő elgőzölögtető csövek, melyeket a füstgáz a terelőlemezek kialakításától függően kereszt-, illetve hosszirányban jár át, részben emelő-, részben ejtőcsövek.
Az áramlási irány a terheléstől függően is változhat, így megfelelő hűtésük bizonytalan lehet, több kazángyártó közbenső huzamot alkalmaz (2.48. ábra), amely növeli az elgőzölögtető felületet, és a csőköteg előtti füstgázhőmérséklet csökkentésével egyértelművé teheti a két kazándobot összekötő elgőzölögtető csövek ejtőcső jellegét.
 
2.48. ábra. Függőleges füstjáratú háromhuzamú kazán
 
A kazándobokon lévő furatok számának csökkentésére gyakran alkalmazzák az ábra jobb oldalán vázolt megoldást, amelynél a homlokfali csőrendszer szakaszolásával, kamrák közbeiktatásával csatlakoztatják a tűzteret a második huzamtól elválasztó tűztér-hátfalat. Így a felső kamra és a kazándob közötti csövek osztásának megfelelő megválasztásával a túlhevítő csövek optimális átvezetése is biztosítható. A hasonló kazánszerkezeteknél a tápvíz-előmelegítő elhelyezésére a kazán után, a füstcsatornában kerül sor, ami lehetőséget ad a tápvíz-előmelegítő áramlási keresztmetszetének, elrendezésének optimális megválasztására is. Ezeket a kazántípusokat 40–250 t/h gőzteljesítményre, 80 bar gőznyomásig, 520 °C gőzhőmérsékletig készítik. A kazánokat a változó névleges teljesítményhez azonos, tipizált magasság, tűztérmélység mellett rendszerint a kazánszélesség és a homlokfali égők számának növelésével illesztik.
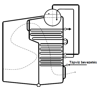
A kazán nyomásának további növelésével (már 60–70 bar felett) az alsó dob és a konvektív elgőzölögtető felület elhagyható (2.49. ábra). A tűztér határoló felületei forrcsőként, a második huzam hátsó felülete ejtőcsőként működnek. A kazán az ábrán vázolt módon, a homlokfalon elhelyezett szénhidrogén-, vagy a tűztér és a második huzam fenekének tölcséres kialakításával, szénportüzeléssel is megvalósítható. A teljesítmény, a gőzhőmérséklet az előbbi értékeknek megfelelően, a gőznyomás mintegy 125 bar nyomásig szokásos.
 
2.49. ábra. Kéthuzamú vízcsöves kazán
 
Míg az előbbi kazánok, a 2.44. ábrán vázolt kialakításhoz hasonlóan, alátámasztott kivitelben készülnek, és így nincs szükség kazánállványzatra, addig a 2.49. ábra szerinti megoldásnál szükséges a kazándob felfüggesztése, ami kazánállványzat építését is igényli. Ez lényegesen megdrágíthatja a berendezést, megnövelheti az építési időt. Erre tekintettel fejlesztették ki a 2.50. ábrán vázolt konstrukciót.
 
2.50. ábra. Egydobos vízcsöves kazán
 
Ennél a kazándob a két oldalán, két nagy átmérőjű, növelt falvastagságú, alul megtámasztott ejtőcsövön támaszkodik, így állványzat alkalmazása szükségtelen. A további alátámasztást a mellső és a válaszfali alsó kamrák teherhordó kialakítása biztosítja. További jellegzetesség a közös alsó, felső oldalfali kamrák alkalmazása. A dob alatti, második huzami, oldalfali csövek vagy közvetlenül a dobba, vagy a dob alatti segédkamrákba csatlakozhatnak.
 
2.51. ábra. Kéthuzamú vízcsöves kazán rostélytüzelésre
 
A biomassza-tüzelésre készített kisebb teljesítményű kazánokat általában rostélytüzeléssel látják el. Miután a különféle bio-tüzelőanyagok hamujának olvadáspontja a szenek hamujához viszonyítva alacsonyabb, általában a szokásosnál nagyobb tűztérre van szükség. A túlhevítőket a 2.51. ábrán vázolt módon árnyékolva, vagy a tűztér fölé belógatva, árnyékolás nélkül helyezik el. Az oldalfalak alakja (mint a hulladéktüzelésre a 2.56. ábrán látható) a boltozatok kialakításához igazodhat. A tűztérfelületeket a rostély felett – különösen a gyújtó, terelő boltozatoknál – tűzálló burkolattal látják el.
Az előbbi berendezések csak konvektív túlhevítő felületeket tartalmaztak. Az úgynevezett világító lángoknál (szén- és olajtüzelés esetén) célszerű besugárzott túlhevítő felületek alkalmazása is. Emellett szénportüzelésnél arra is különös gondot kell fordítani, hogy a füstgázból a kazánban kiváló pernye akadálymentesen távozhasson, ne okozzon dugulást. Ennek érdekében a füstjáratok alsó, ferde felületeit kellő nagyságú hajlásszöggel kell kialakítani.
 
Erőművi kazánok: A 2.52. ábrán vázolt szénportüzelésű kazánnál az előbbiek mellett további jellegzetesség, hogy az elgőzölögtetés hőigényének csökkenése miatt a füstgázjáratokat határoló felületek egy része már nem elgőzölögtetőként vagy tápvíz-előmelegítőként, hanem faltúlhevítőként kerül kialakításra. Nyilvánvaló, hogy a hőtágulás-különbségből adódó járulékos hőfeszültségek minimalizálására ezekben a membránfal-túlhevítőkben a telítési hőmérséklethez viszonyítva csak mérsékelt hőmérséklet-emelkedés engedhető meg. A tűztértölcsér az oldalfelületek alsó részének ferde kialakításával jön létre. A vázolthoz hasonló, kéthuzamú, kereszthuzamot is tartalmazó kazánok Európán kívül a legnagyobb, erőművi méretben, függesztett kivitelben kényszerátáramlásra is készülnek [2].
 
2.52. ábra. Kéthuzamú kazán szilárd tüzelőanyag felhasználására
 
Az erőművekben alkalmazott, újrahevített gőzt is szolgáltató olaj/gáztüzelésű gőzkazánokat a gyártók többsége fenéktüzelésű kivitelben (2.53. ábra) építi. A tápvíz-előmelegítőt a kazántesten kívül helyezik el. A második huzami fűtőfelületek be- és kilépő kamrái a huzam ejtőcsőként működő, hátsó falára vannak felfüggesztve.
 
2.53. ábra. Fenéktüzelésű erőművi kazán
 
Megfigyelhető, hogy a hőátadás nagyságát meghatározó füstgázközeg-oldali hőmérséklet-különbség növelésére a füstgázáramban legelöl kilépő (túlhevítő, újrahevítő) fokozatok vannak, és sorrendben a legutolsó az újrahevítő belépő fokozata. Ezzel szemben az előbbi, szénportüzelésű kazánnál, az optimális csőanyag-választás érdekében, a csőfalhőmérséklet csökkentésére a legjobban fűtött, besugárzott túlhevítő felületet nem a kilépő, hanem egy közbenső fokozat alkotja. A csőfalhőmérséklet csökkentésére mindkét berendezés kilépő túlhevítő-fokozata egyenáramú kapcsolású. A vízszintesen elhelyezett fűtőfelületeket a fenéktüzelésű és a 2.52. ábrán vázolt, szénportüzelésű kazánnál is lefelé átáramlott, túlhevítőként kapcsolt, úgynevezett függesztőcsövek tartják. A tető túlhevítő tűztér fölötti része besugárzott túlhevítőként viselkedik.
 
2.54. ábra. Kéthuzamú gőzkazán
 
Egy csaknem univerzálisan alkalmazható, erőművi kazánkonstrukciót mutat a 2.54. ábra (a vázlaton a kazándobot, a csatlakozó csővezetékeket elhagytuk). Jellegzetessége a tűztér feletti keresztmetszet arányos megosztása, ebben a túlhevítő, újrahevítő és tápvíz-előmelegítő fűtőfelületek elhelyezése. A vázolt megoldás − fenéktölcsérrel − szénportüzelésű, de a tűztérfenék megfelelő kialakításával szénhidrogén tüzelőanyagokra fenék-, front- vagy boxertüzelésű változatokat is építettek. A megoldás a tipizálás kiváló példája, hiszen a tűztér magasságának, keresztmetszetének, fenékkialakításának és a kazán magasságának lépcsős változtatásával azonos elemekből csaknem minden vásárlói igény kielégíthető. A füstgáz két huzam közötti irányváltása, ennek következtében a füstgázban lévő pernyeszemcsék egyenlőtlen eloszlása a második huzamban jelentős kopást eredményezhet, így a konstrukció üzembiztosan csak kis hamutartalmú szénféleségekre alkalmazható.
 
Sarokcsöves kazánok: A vízcsöves gőzkazánok nagy számban gyártott változata az úgynevezett „sarokcsöves” kazánkonstrukció [2.33]. Jellegzetessége, melyről elnevezését kapta, hogy a kazántest élein nagyobb átmérőjű, egymással összehegesztett, közegáramlás szempontjából sorba vagy párhuzamosan kapcsolt csövek vannak elhelyezve, és az elgőzölögtető, tápvíz-előmelegítő csövek ezekhez csatlakoznak.
A 2.55. ábrán vázolt, tipikus megoldásnál a kazándobot a homlokfal függőleges alkotóit képező ejtőcsövek támasztják alá, ezekből történik a homlok- és oldalfali alsó kamrák ellátása. A homlokfali, az „S” alakban vezetett válaszfali és az oldalfali csövek forrcsövek. Előbbiek keresztkamrákba, utóbbiak az oldalfal felső alkotóin elhelyezett gyűjtőkamrákba vezetnek. Ezek felett azonos méretű, a végükön és egy-egy átömlő csővel a gyűjtőkamrákkal összekötött, úgynevezett túlfolyó csövek futnak. A gyűjtőcsövek a dob vízszintjének magasságában vannak elhelyezve, a túlfolyó csövek a gőztérbe kötnek be. A megoldás a keletkezett gőz könnyű távozását, ezzel az áramlási ellenállás minimalizálást teszi lehetővé. A tűztérfenék megfelelő kialakításával rostélytüzelésű változat is készül.
 
2.55. ábra. Sarokcsöves gőzkazán
 
A túlhevítők az oldalfalakon, segédcsövekkel kialakított „ablakokon” keresztül kerülnek beépítésre. Érdekes, melegvíz- és forróvízkazánoknál is alkalmazott megoldás a konvektív elgőzölögtető kialakítása. Mint az ábra jobb oldalán lévő részlet vázolja, az oldalfal függőleges forrcsöveibe egy elzárást vagy szűkítést megelőzően és követően csatlakoznak a kisebb átmérőjű, „U” alakú, vízszintes elrendezésű, fűtött csőkígyók. A két oldal azonos kialakítása érdekében a konvektív elgőzölögtetőt alkotó csőkígyók felváltva, hol jobb, hol bal oldalról indulnak. A csőelrendezés lehet az ábrán vázolt sakktáblás vagy soros is.
 
2.56. ábra. Hulladéktüzelésű gőzkazán
 
Hulladéktüzelésű, biomassza-kazánok: Jelentős számban készítenek hulladék-, biomassza-tüzelésre is vízcsöves kazánokat (részletesebben lásd [2.170]-ben). Ezek konstrukciója az adott hulladékra optimálisnak talált (rendszerint rostély) tüzelőberendezéshez történő illesztés kialakításában, másrészt a hagyományos tüzelőanyagokhoz viszonyítva lényegesen kisebb hőmérsékleten meginduló magas hőmérsékletű korrózió elkerülésében tér el az előző berendezésektől (2.56. ábra).
A tüzelőberendezésekhez történő megfelelő illesztést, a sugárzó terelőboltozatok kialakítását a tűztér homlok- és hátfali csöveinek vonalvezetése biztosítja. A csőfelületeket a gyulladáshoz, kiégéshez szükséges hősugárzás elősegítésére tűzálló anyagokkal borítják. A magas hőmérsékletű korrózió megelőzésére a füstgázokat a túlhevítő felülettel történő érintkezés előtt − lehetőleg besugárzott felületekkel − jól le kell hűteni. Ezért a konvektív felületeket tartalmazó füstgázhuzam előtt rendszerint egy „üres”, besugárzott füstgázhuzam is kialakításra kerül. Egyes kazángyártók ebben besugárzott fűtőfelületet is elhelyeznek. A tűztér felületét a rostély felett különösen, de célszerűen teljesen (beleértve az átlépő keresztmetszet csöveit is) korrózióálló fedéssel, bevonattal kell ellátni. Ebből adódóan a hulladéktüzelésű kazánok fajlagos, felületre vetített gőztermelő képessége a hagyományos tüzelőanyagokkal fűtött kazánokhoz viszonyítva sokkal kisebb.
 
A fluidtüzelésű kazánok (2.57. ábra, 2.58. ábra) lényegesen eltérnek az előbbi konstrukcióktól. Alapvető jellemzőjük, hogy a nagy porterhelésű tűztérben csak az ágyban, illetve a határolófalakon helyeznek el fűtőfelületet. Az utóbbiak általában elgőzölögtető felületek, esetenként a túlhevítő valamelyik közbenső fokozata, faltúlhevítőként kialakítva. A többi fűtőfelület a második, harmadik, kisebb porterhelésű huzamokban van, a szokásos túlhevítő, újrahevítő, tápvíz-előmelegítő sorrendben. A fluidágyas kazánok kisebb teljesítményre (<20 t/h), esetenként több, a teljesítménytől függően működő ággyal (így tűztérrel) is készülnek.
Ipari, erőművi célra a cirkulációs fluidtüzelésű kazánokat alkalmazzák, akár 500 MW villamos teljesítményig is. Ezeknél a kazánoknál (2.58. ábra) a tűzteret mindig porleválasztó követi, amely az esetek döntő részében több párhuzamosan kapcsolt, rendszerint hűtött ciklonból áll. De alkalmaznak [2, 2.30] a tűztér és a kereszthuzam közötti belépő keresztmetszetben több sorban, eltoltan elhelyezett U alakú gerendákat is az ágyból kihordott részecskék leválasztására, amelyek visszahullnak az ágyba. Így a kereszt- és második huzam kialakítása a kisebb füstgázsebességtől eltekintve azonos maradhat a hagyományos szénportüzelésű kazánokéval. Miután ezek leválasztási hatásfoka a ciklonokénál rosszabb, a második huzam végére multiciklon-egységet építenek be, és az ezen leválasztott anyagot is visszavezetik az ágyba. Ez a megoldás a szabadalom tulajdonosa szerint a ciklonos megoldáshoz viszonyítva 20–30%-kal kisebb térfogatot, kevesebb ventilációs teljesítményt igényel.
 
2.57. ábra. Fluidágyas kazán [2.31]. 1: Fluidágy kényszerátáramlású elgőzölögtető hűtéssel, 2: égési levegő, 3: ágyleeresztés hűtéssel
 
A 2.58. ábrán megfigyelhető, hogy egyrészt a cirkulációs fluidtüzelésű kazánoknál a tűztérkeresztmetszet jóval kisebb a szénportüzelésű kazánokhoz viszonyítva, másrészt a fluidizáláshoz szükséges nagyobb levegőnyomás miatt csöves léghevítőt kell alkalmazni.
 
2.58. ábra. Cirkulációs fluidtüzelésű kazán [2.32]
 
Ipari kazánok álló kivitelben: A vízcsöves kazánok különleges változata az álló kazán (2.59. ábra), amely – háztartási mérettől (gömb alakú kazándobbal) 80 t/h kazánteljesítményig – túlhevített gőz előállítására is készülhet [2.33]. A kazán tűzterét, füstgázhuzamait szorosan egymás mellé illesztett vagy gyűrű alakú membránfalként kialakított füstcsövek alkotják.
 
 
A füstgáznak a tűztérből az első füstgázhuzamba, illetve innen a további füstgázhuzamokba történő átlépését az elgőzölögtető csövek széthúzásával, modernebb konstrukcióknál a csövek közötti gátlemez elhagyásával biztosítják. A tűztér besugárzott, a füstgázhuzamokban az áramlás a csövek tengelyével párhuzamos. A tűzteret határoló és a második-harmadik huzam közötti vízcsövek forrcsövek, a legkevésbé fűtött, külső elgőzölögtető csősor fűtött ejtőcsőként működik. Nagyobb nyomásnál a lemezből hegesztett, alsó és felső „kazándob” helyett csövekből kialakított, gyűrű alakú alsó és felső kamrákat és külső, fűtetlen ejtőcsöveket alkalmaznak.
A tüzelőberendezés elhelyezhető a kazán tetején, de a kazán megemelésével az alján is. A tetőn elhelyezett tüzelőberendezés kényes, és sok nehézséget okozhat amiatt, hogy kikapcsolása (égőn keresztüli huzat) esetén a tűztérben felmelegedő közeg felfelé áramlik, utánpótlás esetén jól átmelegítve a tüzelőberendezés szerkezeti elemeit is. Így a nagyobb berendezéseknél a fenéktüzelést, a kisebbeknél inkább – az ilyen kazánokhoz gyártott tüzelőberendezésekkel – a tetőtüzelést választják.
 
A kazántest alátámasztása, hőtágulása: Mint arra már utaltunk, a kazánok felfűtése, lehűtése jelentős alakváltozással jár. Ennek követésére nagy vízterű kazánoknál elégséges volt a kazántest hossztengelye irányában bekövetkező alakváltozást egy fix és egy vagy több elmozduló alátámasztással követni. A nagyméretű vízcsöves kazánoknál ez nem elégséges, így a valódi vagy virtuális fix ponthoz viszonyítva a tágulási lehetőséget minden irányban biztosítani kell.
Az alátámasztott konstrukcióknál a fix pontot az alsó kazándob (vagy a felső kazándobot tartó ejtőcsövek támasztó patasorának) egyik végén vagy felezőtengelyében célszerű kialakítani és a többi, elmozduló alátámasztást e középponthoz viszonyítva sugárirányban elhelyezni. Függőleges irányban a hőtágulás általában nem akadályozott, de a csatlakozó tápvíz-, gőz-, tüzelőanyag-vezetékek rugalmas alakváltozását, a kazántest és a füstcsatorna közötti mozgáskülönbség gáztömör áthidalását, valamint a kezelőjárdák és a kazántest, épületszerkezet ütközésének elkerülését lehetővé kell tenni. A mozgó alátámasztás megoldására többek között a hidaknál alkalmazott görgős alátámasztás vagy például a 2.60. ábrán látható csuklós megoldás kínál lehetőséget.
 
2.60. ábra. EVT vízszintes füstgázvezetésű, háromhuzamú Serienkessel 60-250 t/h teljesítményre [2.34]
 
A felfüggesztettkazánkonstrukcióknál (2.61. ábra) a kazántest, a kazándob, a felső kamrák a kazánállványzattal alátámasztott hídszerkezeten − rendszerint kellő hosszúságú, vízszintes irányú elmozdulást megengedő, az egyenletes teherelosztás érdekében gyakran tekercsrúgókkal alátámasztott rudazattal − függnek. Az elmozdulás centruma a kazántest alkalmas függőlegesében, a csatlakozó rendszerek figyelembevételével kerül kiválasztásra.
 
2.61. ábra. A kazándob és a fűtőfelületek felfüggesztése [2.35]
 
Függőleges irányban a fix szintet a hídszerkezeten lévő felfüggesztési pontok adják. Az egész kazántest lefelé tágul. Például 40 m kazánmagasságnál, 170 bar gőznyomásnál a kazán alsó részének a süllyedése a felfűtés során a 150 mm-t is elérheti. A csatlakozó rendszereket (csővezetékek, csatornák stb.) ezen alakváltozási lehetőségek figyelembevételével kell kialakítani, nem megfeledkezve arról, hogy a gőznyomás változása is a kazánburkolat, kamrák stb. emelkedésével, süllyedésével járhat.
Kisebb „függesztett”, lefelé táguló kazánoknál olyan megoldást is alkalmaznak, amikor a kazándobot, a kamrákat nem függesztik, hanem alátámasztják egy állványzatra (a kazán tartószerkezetére) fektetett hídszerkezeten. Ezen alátámasztások rendszerint a kazándob egyik végén kialakított fix pontból és ehhez képest sugárirányban elmozduló, görgős alátámasztási pontokból állnak.
 
Falazat, merevítések:Az egyes konstrukciók előbbi, vázlatos ismertetésénél nem tettünk említést a legfontosabb szerkezeti elem, a „vízcsövek” kialakításáról. A hagyományos, besugárzott tűzterű, falazottkazánoknál [2.41, 2.42] a forrcsöveket a tűztérhűtés szándékolt mértékétől függő osztással helyezték el (2.62. ábra). A forrcső-sort három- (tűzálló, hőszigetelő, teherviselő vörös téglából készült) rétegű falazattal burkolták. Az úgynevezett nehéz, önhordó falazatnál a vastagság elérte a 600–700 mm-t is. Gyakran az ejtőcsöveket is a falazaton belül vezették. A félnehéz, ~250 mm vastagságú falazatoknál a falazatot a sűrűn (5–8 mm hézaggal) elhelyezett forrcsövekhez rögzítették, így az együtt mozgott a csövekkel. A félnehéz falazatot mindig, az önhordót gyakran ellátták lemezburkolattal is. Manapság ilyen falazatokat csak kis teljesítményű, biomassza-tüzelésű kazánoknál alkalmazhatnak.
 
2.62. ábra. Hagyományos kazánfalazat
 
A korszerű „falazatok” kialakulásánál az első, lényeges változást az úgynevezett „skin casing” (meleg lemezes) megoldás (2.63. ábra (a)) hozta. Ennél a minimális hézaggal egymás mellé helyezett és fésűs lemezekkel összefogott forrcsöveket a külső oldalukon, gáztömören, a fésűs lemezekhez hegesztett acéllemezekkel burkolták, és kívülről a korábbi falazathoz képest könnyű, mintegy 150 mm vastag hőszigeteléssel, majd fedőlemezzel borították. A megoldás a kazán tömörségének biztosítása mellett csökkentette a kazán önsúlyát, anyagigényét, munkaerő-ráfordítását, és lényegesen gyorsította a kivitelezés, üzembe helyezés idejét. A megoldás hátrányát a forrcsövek, a lemezburkolat egyenlőtlen melegedéséből, hűtéséből adódó, gátolt hőtágulás hatására bekövetkező varratszakadások jelentették. A forrcsövek fésűslemezből történő elszabadulása gyakran a hőfelvétel jelentős növekedésével, a cirkuláció elégtelenségével, ennek eredményeként a cső felszakadásával járt együtt. A burkolólemez-varratok repedése pedig a légfelesleg lényeges növekedésére, pulzáló tüzelésnél akár füstgázkiáramlásra is vezethetett. Ennek ellenére kevésbé felkészült, a membránfalak gyártásához célgépekkel nem rendelkező kazángyártók, elsősorban ipari kazánoknál, jelenleg is alkalmazzák.
Az igazi áttörést a cső-gát-cső hegesztett membránfal-kialakítás hozta. Ennél a gáztömör, merev kazánfal a csövek célgépeken, gátlemezekkel mindkét oldalon történő összehegesztésével (2.63. ábra (b)) jött létre. A membránfal meggátolta a csövek elszabadulását, a tömörtelenné válást. A szokásos csőméretek: 57 mm külső csőátmérő 75 mm osztással, 76 mm csőátmérő 100 mm osztással, illetve 90 mm csőátmérő 120 mm osztással. A természetes cirkulációjú kazánok tűzterében csaknem kivétel nélkül az első változatot alkalmazzák, a többi változat gyengébben fűtött, válaszfali, hátsó fali felületek kialakításához alkalmas csak. Megfelelő berendezéssel nem rendelkező, kisebb kazángyártók a 2.63. ábra (c) szerinti, kézzel hegesztett megoldásokat alkalmazzák, ezeknél a sűrűn egymás mellé helyezett csöveket közvetlenül vagy hengeres közdarabbal, kézzel hegesztik össze akár a felület teljes hosszában is.
 
2.63. ábra. Hegesztett kazánfal-kialakítások
 
Az uszonyoscsövekből készített membránfal (2.64. ábra (a)) jobb minőséget (nincs hegesztési varrat a cső felületén), egyenletesebb csőkerület menti hőterhelés-eloszlást, kevesebb hegesztési varratot eredményez. Az úgynevezett ómega-, szuper-ómega-csövek nagy terhelésnek, erős kopásnak (tűztértölcsérben, fluidágy oldalfalán, fluidágyban elhelyezett fűtőfelületek) kitett helyeken alkalmazhatók.
 
2.64. ábra. Hegesztett kazánfal-kialakítások
 
A sarkok kialakításánál, párhuzamos csőrendszereknél gát-gát, merőleges csőrendszereknél fésűslemez-gát csatlakozást alkalmaznak, a sarokvarratokat általában kézzel készítik. A membránfalakat alkotó csövek kamrákhoz történő csatlakoztatásánál szűkítő közdarabokat alkalmaznak, így a kamráknál a furatok közötti gátméret nagyobb a csövek közötti gátlemez szélességénél.
 
Nyílások a kazánfalon: A kazántesten a tüzelőberendezés elhelyezéséhez, a láng megfigyeléséhez, a bemászóajtók, a füstgázvisszaszívó aknák stb. kialakításához nyílásokat kell készíteni. Ez a membránfal átmeneti megszakításával, kihajlított csövek közbeiktatásával lehetséges. A 2.65. ábrán az oldalfal elején látható figyelőnyílásokat két cső kihajlításával alakították ki. A füstgáztömörség érdekében a nyílások köré lemezkeretet (amelyet a figyelőablak, a bemászóajtó, a robbanóajtó stb. zár le) is ki kell képezni. A 2.66. ábrán (a) jól látható, hogy hajlított csövekből tetszőleges alakú nyílás készíthető. Az ábrán a membránfelületet lezáró (és nagyobb kivágások esetén egyúttal merevítő) keret is megfigyelhető.
 
2.65. ábra. Szállításra előkészített kazántest [2.36]
 
A beillesztett, kihajlított csőszakaszok vonalvezetésénél, hosszánál különös figyelemmel kell lenni a csövek természetes cirkulációjának lehetőség szerinti azonosságára, az esetlegesen megnövelt fűtés, illetve lecsökkent hűtés miatti meghibásodások veszélyének minimalizálására. Ennek érdekében a csövek kihajlítása helyett a 2.65. ábrán az égő-, illetve búvónyílásnál alkalmazott nagyobb átmérőjű csőgyűrűvel mint gyűjtő- és elosztókamrával kialakított kivágásokat is készítenek. A megoldás további előnye a lapos kialakítás, ugyanakkor ilyen módon nagyon merev, csak kisebb (<40 bar) nyomásoknál alkalmazható szerkezet jön létre. Emellett előállítása drágább lehet a csövekből készített kihajlítások gyártási költségénél.
 
2.66. ábra. Nyílások kialakítása [2.37, 2.38]
 
A falazat bevonása: A hulladéktüzelésű, fluidtüzelésű berendezésekkel összefüggésben utaltunk a tűztéri falazat burkolására. Ennek célja más a fluid- és más a hulladéktüzelés esetén. Előbbinél elsősorban a kopásállóság, utóbbinál a korrózióállóság a lényeges. A megfelelő anyagú, vastagabb bevonat csövekre történő felvitelére a csövek tüskézése (torkrétírozása) kínál lehetőséget (2.67. ábra). A tüskézés során a membránfal-csövekre, -gátakra a védeni kívánt szakaszokon, automatikus hegesztőberendezéssel 8–10 mm átmérőjű, 10–15 mm hosszúságú csapokat (tüskéket) hegesztenek, síkonként eltolva, osztásonként 3–4 darabot. A tüskézett felületet, kellő vastagságban, a kívánt célnak megfelelő tűzálló betonnal összefüggően bevakolják („belövik”), bedöngölik.
 
2.67. ábra. Tüskézett membránfal részlete [2.39]
 
A membránfalak merevítése: A membránfalak a csövekkel párhuzamos alkotók (gátlemezek) mentén könnyen hajlanak. Ezért a tüzelés pulzációja, a belső túlnyomás vagy huzat könnyen a felület deformációját, rezgését eredményezné. Emellett a kazán határolófelületeinek a kamrákból, csővezetékekből adódó járulékos terheléseket is viselni kell. Így a határolófelületeket merevíteni kell [2.44]. Kisebb berendezéseknél erre a fésűslemez is alkalmas lehet, de az ipari, erőművi kazánoknál minden esetben bandázsszerkezetek beépítésére van szükség. Ezeknek biztosítani kell a kazán hőtágulását, a membránfal kitámasztását, ugyanakkor mind függőleges, mind keresztirányban együttműködhetnek a membránfalakkal.
 
2.68. ábra. A membránfal merevítése
 
A kialakításukat tekintve három alapváltozat szokásos, az úgynevezett meleg bandázs, a kettős bandázs, illetve a hideg bandázs (2.68. ábra). Az előbbinél a csövekre merőleges, hajlítónyomaték viselésére kialakított, rendszerint, U gerendát, amelyet alul, felül felváltva a gátlemezekhez hegesztett tartófülekkel közvetlenül fognak a membránfalhoz, hőszigeteléssel borítják. Így egyensúlyi állapotban hőmérséklete a membránfal hőmérsékletével lesz azonos, a kazán keresztirányú mozgását nem gátolja. Átmeneti állapotban a tartófülek deformációja egyenlítheti ki a hosszkülönbséget. Ez a megoldás általában kisebb méretű (2.44. ábra, 2.60. ábra) berendezésekre alkalmas.
Nagyobb méretű, nyomású berendezéseknél a kettős bandázskialakítást alkalmazzák. Ezeknél a membránfal hátoldalán, tartófülekkel alul, felül felváltva megfogott, széles acélból készített meleg bandázs (inkább kapcsolólemez) fut végig (2.68. ábra (b)). Ezt kívülről 80–100 mm magasságú, azonos szélességű távtartók támasztják meg, amelyek vízszintesen elmozdulhatóan támaszkodnak a hajlítónyomatékra méretezett, rendszerint „I” gerendából kialakított hideg bandázshoz.
A csak hideg bandázst tartalmazó megoldásoknál (2.68. ábra (c)) U alakú (>80 mm szármagasságú), szárvégüknél a csövek közötti gátlemezekre hegesztett, talpukkal a hideg bandázsnak támaszkodó, 0,5–1,0 m távolságban elhelyezett távtartókkal támasztják meg a membránfalat.
A bandázsszerkezet súlyát a meleg bandázson, tartófüleken keresztül a membránfal viseli. Így a hőtágulást megengedő, de széles falak esetén is kellően erős szerkezet alakítható ki. A hideg bandázs végein (az alátámasztásoknál) ébredő erőket a sarokelemekkel a merőleges membránfalba vezetik be (2.68. ábra, (b, c)). A sarokelemeknek egyrészt a csuklós rudazatokkal biztosítani kell a hidegbandázs faltól, meleg bandázstól eltérő hőtágulását, másrészt a membránfalra hegesztett talplemezeken át az erőbevezetést. Olyan hidegbandázs-kialakítások is ismeretek, amikor a 2.68. ábrán (c) bemutatott kettős csuklós szerkezet mellett a gerendákat végeiken nyomórúgóval is összekapcsolják, így a reakcióerők kiegyenlítésében a merőleges kazánfal bandázsszerkezete is részt vesz. A kellő vastagságú hőszigetelést (gyakran több rétegben) [2.43] a gátlemezekre közel egyenletes osztásban ráhegesztett, ~5 mm átmérőjű, ~200 mm hosszúságú rudakra tűzik rá, dróthálóval és a rúdvégek lehajlításával leszorítják, kívülről lemezburkolattal lefedik. A bandázsgyűrűk távolságát, a bandázsgerenda méretét a merevíteni kívánt felület nagysága határozza meg. 3–5 m-nél nagyobb távolságot általában nem alkalmaznak. A bandázsgyűrűket gyakran a függőleges, hosszirányú elmozdulást megengedő, a membránfelületet a közbenső részen megtámasztó, függőleges segédtartókkal is összekötik.

Kazánok

Tartalomjegyzék


Kiadó: Akadémiai Kiadó

Online megjelenés éve: 2020

ISBN: 978 963 454 492 0

Háztartásokban, ipari üzemekben, erőművekben széleskörűen alkalmaznak tüzelőanyag elégetésével vagy más módon bevezetett hőmennyiség hőhordozó közeggel történő hasznosítására szolgáló berendezéseket: kazánokat. A könyv ezek tervezésének, üzemeltetésének, vizsgálatának szerteágazó konstrukciós, hőtechnikai, áramlástani, szilárdságtani, vegyészeti és más ismereteit foglalja össze, az egyetemi oktatásban és a gyakorlati életben is hasznosítható módon. Az elméletet élő gyakorlattal ötvözve elsősorban erőműi, ipari, távhőszolgáltató kazánokkal foglalkozik, de a folyamatokra, szerkezeti kialakításra, gyakorlati viselkedésre vonatkozó utalások kisebb berendezéseknél is alkalmazhatók.

Hivatkozás: https://mersz.hu/gerse-kazanok//

BibTeXEndNoteMendeleyZotero

Kivonat
fullscreenclose
printsave