Gerse Károly

Kazánok

2., javított kiadás


4.5. A gőztisztaság biztosítása

Ha a póttápvizet nem teljes sótalanítással kezelik, a kazánba több-kevesebb oldott só juthat. Folyamatos leiszapolás nélkül azonban idővel, még teljesen sótalanított tápvíz esetén is, megnövekedhet a koncentráció a kazándobban. Ez a kazándobból, kazánból elvezetett gőz sótartalmának növekedésére, a szerkezeti elemek, hőhasznosító berendezések elrakódására vezethet. Ennek elkerülésére a kazándobból kilépő gőz sótartalmát – az adott paraméterek, felhasználási cél mellett még oldott állapotban tartható, vagy az utánkapcsolt szerkezeti elem, berendezés szempontjából még megengedhető mértékben – minimalizálni kell. Miután a gőz sótartalmát, az előzőek alapján, elsősorban a cseppelragadás határozza meg, a gőz tisztasága a cseppelragadás mértékének, illetve a cseppek (kazánvíz) sótartalmának csökkentésével, például
  • sótalanított tápvíz felhasználásával,
  • a kazánvíz-sótartalom oldhatóságnak megfelelő csökkentésével, leiszapolással,
  • a kazánvíz felhabzásának lelúgozással, kondicionálószerek felhasználásával történő megelőzésével,
  • a szükségtelen nagyságú, fröcskölést előidéző cirkuláció fojtásával,
  • rossz tápvízminőség esetén többfokozatú elgőzölögtetés alkalmazásával,
  • gőzmosással,
  • a kazándob méretének növelésével, a csőcsatlakozások célszerű elrendezésével,
  • több kazándob beépítésével,
  • dob-beépítmények alkalmazásával
állítható be. Az optimális megoldást a vízelőkészítés és a kazán szerkezeti kialakításának összehangolása jelenti, a választott megoldást a gőzminőséggel szembeni elvárások, gyakorlati tapasztalatok, illetve a költségminimumra való törekvés határozzák meg. A gőztisztaság biztosításával kapcsolatos tapasztalatok az előírásokban is megjelentek: kényszerátáramlású, illetve 68 barnál nagyobb engedélyezési nyomású cirkulációs kazánoknál csak sótalanított tápvíz alkalmazható. A továbbiakban csak a kazán(dob) konstrukciós kialakításával kapcsolatos lehetőségeket foglaljuk össze.
A kazánból kiadott gőz minőségével összefüggésben figyelembe kell venni, hogy befecskendezéses hőmérséklet-szabályozás esetén a gőz sótartalma a visszahűtésre felhasznált víz minőségétől, mennyiségétől is függ, miután a befecskendezett víz elgőzölgése során szennyeződései teljes mértékben átkerülnek a gőzbe. Ezért befecskendezésre csak sótalanított minőségű víz használható (4.2. táblázat), és a mennyiség sem haladhatja meg a gőzáram néhány százalékát. A befecskendezés arányának (a túlhevítők túlméretezése vagy a tüzelési viszonyok megváltozása miatti) növekedése esetén mindig ellenőrizni kell a gőz sótartalmára, a túlhevítő esetleges elszennyeződésére kifejtett hatást.
 
Gőztér-, víztükörterhelés: A cseppelragadás minimalizálására a legegyszerűbb megoldást a megfelelő méretű kazándob kialakítása jelenti. Mint a 4.1. fejezetben bemutattuk, a cseppelragadás elsősorban a víztükörre számított átlagos sebességtől és a gőztér magasságától függ. A gyakorlatban a fajlagos gőztérterhelésre és víztükörterhelésre adnak előírásokat [4.54]. Tájékoztató értékeket [4.112] és [6] alapján a 4.26. ábra mutat. Egyéb intézkedések elkerülésére fontos az egész dobhossz kihasználása a forrcsövek, gőzbekötő csövek csatlakoztatására és a csövekbeli sebességek helyes megválasztása (ejtőcsövekben ≤1,5 m/s, bekötőcsövekben ≤4 m/s [1]). A valóságban a megengedhető terhelés nagysága a bekötőcsövek csatlakozásától is függ. Dob-beépítmények nélkül a legkedvezőtlenebbek a gőzelvezetéssel szemben a dob alsó alkotójának közelében becsatlakozó csövek. Valamivel kedvezőbbek a vízszint alá, illetve fölé, közel vízszintesen csatlakozó csövek. A legkedvezőbbnek a gőzelvezetéssel közel párhuzamosan, lefelé irányítva kialakított csőcsatlakozás tűnik [7]. A kazánvíz fröcskölését a keringési szám is befolyásolja. Ezért a dobméret növelése helyett, a fröcskölés minimalizálására, javasolják a keringési szám üzembiztonság szempontjából megengedett értékre történő csökkentését. Ennek eszközeként a gőzbekötő csövek kazándobba történő csatlakozásába (a csatlakozócsonkba) utólagos, feszítőcsavarokkal rögzített fojtások beépítését is célszerűnek tartják.
 
4.26. ábra. Megengedett térfogati és felületi terhelés [6], [4.112]
 
A megengedett gőztérterhelés [m3/m3h] kiszámítására több szakkönyvben szerepel a Cleve-től [7] származó, alakú (a Baumé-fokban kifejezett kazánvíz-sótartalmat és a kazánnyomást mint független változókat tartalmazó) összefüggés is, amelyben az állandó, illetve a kitevők a szerzőktől függően eltérhetnek egymástól. Az irányadó víztükörterhelésre korábban (például: [4.1]) <1000 m3/m2h értéket adtak meg.
 
 
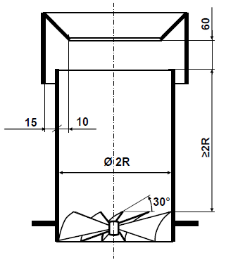
Dob-beépítmények: Nagyobb nyomásoknál az előbbi feltételeknek megfelelő gőztér kialakítása nagy dobátmérőt, ezzel nagy falvastagságot, tömeget, végeredményben gazdaságtalan konstrukciót eredményezne, különös tekintettel arra is, hogy a nyomás növekedésével a gravitáció hatására bekövetkező, szétválasztást elősegítő sűrűségkülönbség a folyadék- és gőzfázis között lényegesen csökken. Ezért az optimális konstrukció kialakítására ütköző, irányelterelő, nyugtatólemezeket, dróthálós, zsalus leválasztókat, illetve leválasztó ciklonokat építenek be, célszerűen az előbbi sorrendben (4.27. ábra). Nagy vízterű kazánoknál, mint a 2.26. ábrán vázoltuk, perforált cső, lemeztáska, alkalmazása is szokásos.
Az ütköző, irányelterelő lemezek feladata a csövekből kilépő keverék fröcskölésének csökkentése, a vízcseppek irányelterelése, lelassítása, ezzel továbbáramlásuk megnehezítése. A legjobb hatás akkor érhető el, ha az irányelterelő lemezekhez kapcsolódóan – célszerűen ciklonokban – megtörténik a gőz-víz keverék szétválasztása (4.27. ábra (c, d)).
 
 
Nyugtatólemez: A nyugtatólemez (4.28. ábra), az előbbiekkel szemben, a gőz vízfelszínen történő egyenletes átbuborékolását, ezzel az elragadott vízcseppek mennyiségének minimalizálását célozza. Az egyenletesen elosztott [m] sugarú furatokkal áttört, a minimális vízszint alá 50–75 mm-rel [6] elhelyezett, nyugtatólemezről leszakadó buborékok [m] sugarát a
 
(4.37)
 
egyensúlyi egyenlet alapján az
 
(4.38)
 
összefüggésből lehet kiszámítani. A lemez furataiban a gőz minimális átáramlási sebességének nagyobbnak kell lenni az
 
(4.39)
 
értéknél, ellenkező esetben a buborékok csak nagyon egyenlőtlenül lépnek át a vízfelszínen [6]. A maximális sebesség, amely felett a gőz nem buborékok, hanem sugár formájában halad át [6]:
 
(4.40)
 
Így a lemezt úgy kell méretezni (furatok mintegy 10–25 mm átmérőjét, osztását meghatározni), hogy a gőz sebessége minimális terhelésnél is nagyobb legyen az előbbi minimális sebességértéknél, és maximális gőzelvételnél se közelítse meg a kritikus értéket. A [6] irodalom nagyobb nyomásoknál 6–8, közepes nyomásoknál 10–12 m/s értéket ajánl. A gőz nyugtatólemezen történő áthaladását (a buborék képződését és az áramlási veszteség legyőzését) a lemez alatt feltorlódó gőz és a lemezt körülvevő folyadékfázis sűrűségkülönbsége (az ebből kialakuló geodetikus nyomáskülönbség) biztosítja. A buborékméret és az átáramlási sebesség előbbi képletét figyelembe véve a feltorlódott gőzréteg szükséges (m) vastagsága:
 
(4.41)
 
Dróthálós cseppleválasztó: A ~0,15–0,3 mm átmérőjű drótból szőtt, többrétegű háló működése azon alapszik, hogy a gőz által szállított vízcseppek nem tudják követni az egymás mögötti, eltolt helyzetű rétegek közötti, gyakori irányelterelést, és a drótszálaknak ütközve azokon megtapadnak. A drótszálakon összegyűlt víz a gőz által már el nem ragadható, nagyobb vízcseppek formájában lecsöpög a hálóról. A cseppleválasztó az erre specializálódott gyártók által ajánlott választékból a gőzmennyiség és a megengedhető nyomásveszteség figyelembevételével, a gőztisztaság biztosításához elvárt, leválasztandó cseppméret (például: ~1–3 μm) alapján választható ki. A méretezési gőzsebesség függőleges áramlási irányra [4.55], [4.56]:
 
(4.42)
 
A értékét, dróthálós cseppleválasztókra, 0,107 m/s értékkel javasolják figyelembe venni. Megfelelő működéssel az előbbi képletből számítható sebesség 30–110%-os tartományában lehet számolni. Vízszintes áramlási irány esetén 20%-kal nagyobb sebesség engedhető meg. A tényező a nyomás, illetve a cseppterhelés növekedésével csökken [4.56]. Így a nyomás növekedésével egyre nagyobb áramlási keresztmetszetre lenne szükség, emiatt alkalmazási lehetősége korlátozott. Felhabzás veszélye esetén sem ajánlott. A kiválasztás akkor tekinthető megfelelőnek, ha a háló méretezési állapotban az áramlási irányban csak félig nedvesedik, másik fele biztonsági tartalékot képez. Utóbbi, a 110% méretezési értéket meghaladó kritikus sebességek esetén is, mindaddig, amíg a teljes hálóvastagság át nem nedvesedik, garantálni tudja a minimális cseppelragadást.
 
Zsalus leválasztók: Működésük azon alapszik, hogy a zsalulemezek közötti irányelterelés (4.29. ábra) hatására a csatornákban ébredő centrifugális erő a gőzzel áramló cseppeket kifelé elmozdítja, így a cseppek kellő út megtétele esetén rátapadnak a lemezre. Az összegyűlő folyadék a nehézségi erő hatására vízszintes gőzáramlási irány esetén a lemezek mentén lefolyik, függőlegesen felfelé áramlás esetén, a dróthálós cseppleválasztókhoz hasonlóan, nagyobb, a gőz által már el nem ragadható cseppek formájában, visszahullik. A leválasztás hatásfokát a sima lemezekből összeállított zsaluhoz (4.30. ábra (c)) képest cseppelvezetőkkel (4.30. ábra (a, b)) javítják. Ezek nemcsak a már leválasztott folyadék visszatartásával, elvezetésével, hanem a csatornák szűkítésével, így az áramlási és vándorlási sebesség növelésével is javítják a leválasztás hatásfokát. Áramlási ellenállásuk azonban többszöröse a sima lemezekből álló zsaluszerkezetének. A leválasztás hatásosságát, a már leválasztott folyadék visszatartását legjobban az úgynevezett kettős csatornás zsalulemezek (4.30. ábra (d)) biztosítják. Ezeknél a leválasztott folyadék a tényleges áramlási csatornák közé beépített, csak a folyadék belépését lehetővé tevő közbenső csatornákon át távozhat.
 
4.29. ábra. Irányelterelés zsalus leválasztóban
 
A csatornákban történő mozgás során a (Stokes-törvény alapján, < 1 feltételezésével) a centrifugális erővel a súrlódó erő tart egyensúlyt.
 
(4.43)
 
A képletben:
a csepp átmérője [m],
a folyadék sűrűsége [kg/m3],
áramlási sebesség a csatornában [m/s],
csatorna görbületének sugara [m],
a hordozó közeg (gőz) viszkozitása [Ns/m2],
sugárirányú (vándorlási) sebesség [m/s].
 
A vándorlási sebességet kifejezve
 
(4.44)
 
Figyelembe véve a csepp [s] tartózkodási idejét az szöggel (4.29. ábra) jellemezhető ívben, kiszámítható a sugárirányba megtett, [m] út:
 
(4.45)
 
A képlet alapján megállapítható, hogy egyrészt a kifelé megtett út független az ív sugarától, másrészt a méretű csepp, a belső áramvonalról indulva, csak -nél kisebb csatornaszélesség esetén éri el a csatorna külső falát, és tud ott megtapadni. A leválasztást a cseppek turbulens diffúziója is elősegíti, a cseppek egy része a turbulens mozgás következtében a falhoz csapódik, és odatapad. A méretezéssel összefüggésben a zsalus leválasztóknál is érvényesek a dróthálós leválasztóknál ismertetettek: a zsalukat célszerűen csak a köteg fél vastagságáig indokolt leválasztóként figyelembe venni, a további felület tartaléknak tekintendő a kritikus üzemállapotok káros következményeinek megelőzésére. A leválasztási hatásfok, a turbulens diffúzió javító hatásának figyelembevétele nélkül, elméletileg az
 
(4.46)
 
kifejezéssel számítható, ahol az irányelterelések száma, a csatorna szélessége (mm).
 
4.30. ábra. Cseppleválasztó lemezek zsalus leválasztókhoz
 
Látható, hogy függ a csepp méretétől, kisebb cseppekre rosszabb, nagyobbakra jobb lesz. A nyomás növekedésével, az anyagjellemzők változása miatt, csökken. A tényleges hatásfokgörbe csak mérésekkel állapítható meg. Az irodalomban (például [4.57]) néhány zsalutípusra számítási összefüggések is megtalálhatók. A 4.31. ábrán, a [4.58] által felhasznált források alapján, egy nagyon széles eloszlást mutatunk be. A modern zsalus leválasztókat jóval szűkebb eloszlások jellemzik [4.55], [4.56].
 
4.31. ábra. Hatásfok zsalus leválasztóra [4.58]
 
A leválasztott folyadék visszaporlasztásának veszélye elsősorban a folyadék felületi feszültségétől, illetve a gőz sűrűségétől függ. Mivel a nyomás növekedésével a felületen megtapadt folyadékfilm fennmaradását meghatározó felületi feszültség csökken, a porlasztóhatást meghatározó gőzsűrűség pedig nő (1. függelék), egyre nagyobb lesz a visszaporlasztás veszélye. Ezért a zsalus leválasztókat önmagukban ~55 bar nyomásig ajánlják.
A zsalus leválasztókat a dróthálós leválasztókkal összehasonlítva általánosságban megállapítható, hogy előbbiek nagyobb elragadott folyadékmennyiség leválasztására alkalmasak, felhabzás veszélyére érzéketlenek, átáramlási sebességük nagyobb lehet. A (4.42) képlet alapján javasolt méretezési sebesség számításához, zsalus leválasztókra [4.55], = 0,04–0,35 m/s. [4.56] függőleges áramlási irány esetén ≈ 0,15, vízszintes áramlási irány esetén ≈ 0,2, kettős zsalulemezzel mindkét áramlási irányra ≈ 0,3 m/s értéket ajánl.
 
Ciklonok: A ciklonokban a folyadék- és gőzfázis szétválasztása a zsalus leválasztókhoz hasonlóan centrifugális erőtér hatására történik. A perdületes áramlás hatására sugárirányú mozgás indul meg, és elegendő nagyságú tartózkodási idő esetén az összes folyadék eléri a falat. A zsalus leválasztóhoz viszonyított előnyét a tartózkodási idő növelhetősége jelenti, anélkül hogy az jelentős nyomásveszteség-növekedéssel járna. Felhasználása történhet:
  • előleválasztóként (4.32. ábra), amikor a forrcsövekből kilépő keverék a 4.27. ábrához (c) és 4.27. ábrához (d) hasonlóan csak a ciklonokon keresztülhaladva, ott folyadék- és gőzfázisra szétválva juthat a dobba, vagy
  • utóleválasztóként (4.35. ábra (a)), amikor a dob gőzteréből az elragadott folyadékcseppeket szállító gőz csak a ciklonon keresztülhaladva, a cseppeket ott hátrahagyva áramolhat a gőzelvezető csövekbe. Miután a ciklon belsejében a nyomás kisebb a kazándobban uralkodó nyomásnál, a leválasztott folyadék eltávolítására tápvízzel működtetett vízsugárszivattyút kell alkalmazni.
 
4.32. ábra. Cirkulációs körbe beépíthető leválasztóciklonok
 
Mindkét feladatra alkalmazzák mind a tangenciális, mind az axiális beömlésű változatot. Előbbinél a keverék bevezetése a ciklon kerületéhez érintőlegesen csatlakozó beömlésen keresztül történik, a folyadék alul, a mennyiségétől függően perdületes elvezetésen (4.32. ábra (a)) vagy elvezető csövön (4.35. ábra (b)) távozik. Az utóleválasztóknál, a jobb leválasztási hatásfok érdekében, merülő csövet is alkalmaznak. Az axiális átömlésű ciklonnál a folyadék és a gőz is felfelé hagyja el a ciklont (4.32. ábra (b)). Utóbbinak olyan – elsősorban utóleválasztóként alkalmazott – változata is ismert, amelynél a falon áramló folyadék nem a ciklon tetején, hanem a fal hosszirányú résein lép ki a ciklonból [4.55]. Miután az előleválasztó ciklonok a cirkulációs kör részét képezik, áramlási ellenállásuknak lehetőség szerint kicsinek kell lenni.
A ciklonok kiválasztása, méretezése a keringő tömegáramok, keringési szám alapján történhet. Tangenciális ciklonoknál a belépési sebességet, a ciklonátmérőt, a belépő csonk magasságát úgy kell megválasztani, hogy egy körülfordulás után a folyadékáram a nehézségi erőtér hatására a belépő csonk alá süllyedjen. Előleválasztó kialakításnál a beömlést célszerűen a ciklon (az átmérő kétszeresét meghaladó) magasságának közepén kell elhelyezni, hogy a felfelé haladó gőzáramból a vízcseppeknek elegendő idejük legyen kiválni. A cseppek elméleti, sugárirányú sebessége a zsalus leválasztókhoz hasonlóan számítható:
 
(4.47)
 
Az összefüggésben az sebesség indexe a csepp térbeli mozgásának érintőleges komponensére utal. Látható, hogy a kisebb sugár a vándorlási sebesség szempontjából kedvezőbb, és ez esetben a cseppek a ciklon falát is gyorsabban elérhetik. Ugyanakkor a kisebb méretekhez tartozó, kisebb áramlási keresztmetszetek a ciklonok darabszámának növelését igénylik. Előleválasztó ciklonok alkalmazásával a közegsebességek növelhetők. Keveréksebességekre (bekötő csövekre) ≤70 bar nyomás esetén ≤18 m/s, nagyobb nyomásnál ≤9 m/s értéket tartanak elfogadhatónak.
 
4.33. ábra. Axiális előleválasztó ciklon [4.59]
 
Axiális ciklonoknál a felfelé áramló folyadék a nehézségi erőtér hatására lassul. A perdítő elem keresztmetszetét, hajlásszögét úgy kell megválasztani, hogy a fal mentén kialakuló axiális áramlás képes legyen a leválasztott folyadékot, az irányelterelő sapkán át, a ciklonon kívülre továbbítani. A dobbeli fröcskölés minimalizálására rendszerint az irányelterelő sapkákat is ellátják a sapkákba beérkező közeg perdületét csökkentő terelőlemezekkel. Gyakorlati tapasztalatok [6] alapján a gőz-víz keverék belépési sebessége 10–12 m/s, de célszerűen nem lehet kisebb 5–6 és közepes nyomásoknál nem lehet nagyobb 15–20 m/s értéknél. A ciklon belsejében áramló gőz sebességét 0,5–0,7 m/s-nál kisebbre kell választani. A 4.33. ábrán vázolt, orosz kazángyártók által alkalmazott, axiális ciklonokra [4.59] ismertet a cseppelragadásra, teljesítményre, átmérő, nyomásveszteség számítására vonatkozó összefüggéseket. A leválasztást elősegítő folyamatokat a szám nagyságától függően valószínűsítik. Amennyiben ≤ 1,8·1014, a leválasztás elsősorban a centrifugális erőhatás hatására megy végbe. Az 1,8·1014 < < 2,75·1014 közötti tartományban a cseppek a centrifugális erőhatás és a turbulens pulzáció együttes hatására tapadnak a falra. A ≥ 2,75·1014 tartományban a kiválás a turbulens mozgás hatására történik. A cseppelragadás, nyomásveszteség számítására példaként, [4.59] alapján, a 4.33. ábrán vázolt, 9–11 db, 30 fokos perdítő lapáttal ellátott, axiális ciklonra vonatkozó összefüggéseket mutatjuk be. Az [g/kg] cseppelragadás
a < 2·107 tartományban az
 
(4.48)
 
a ≥ 2·107 tartományban az
 
(4.48/a)
 
kifejezéssel számítható, ahol
 
(4.49)
 
A ciklon [N/m2] nyomásvesztesége a összefüggés alapján határozható meg.
 
4.34. ábra. Korrekciós tényező és hatásfok az utóleválasztó ciklonra
 
A tangenciális ciklonokkal összefüggésben meg kell jegyezni [4.60], hogy az áramlás az örvénytérben nem a sugár által meghatározott körpályán, hanem annál kissé nagyobb görbületi sugáron történik (emiatt a tényleges vándorlási sebesség a tangenciális sebességből számítható értéknél kisebb), illetve hogy a beömlés sugara kisebb a ciklon sugaránál (4.34. ábra (a)). Így a perdületmegmaradási egyenlet felhasználásával a külső sugárra számítható kerületi sebesség:
 
(4.50)
 
ahol a beömlési sebesség, értéke – a beömlés szélessége és a beömlési sugár hányadosa függvényében – a 4.34. ábra (a) diagramja alapján vehető figyelembe. Merülő csöves ciklonoknál fennállhat annak a veszélye, hogy az nagyságú, tengelyirányú sebesség (4.35. ábra (b)) cseppeket ragad magával. Ez nem következhet be, ha a cseppnek a (4.47) képletből az belső sugáron érvényesülő érintőleges sebességgel számított, vándorlási sebessége nagyobb az előbbi, tengelyirányú sebességnél, illetve ha a cseppek már korábban a falra tapadtak. Az előbbi feltétel a
 
(4.51)
 
[m] méretű cseppekre teljesül, a gyakorlati tapasztalatok alapján azonban ennél a cseppméretnél is csak ~50% a leválasztási hatásfok. Az ettől eltérő, egyéb cseppméretekre a leválasztási hatásfokot a 4.34. ábra (b) mutatja a cseppek lebegtetési sebességének, az előbbi méretű csepp lebegtetési sebességéhez viszonyított aránya alapján.
 
4.35. ábra. Utóleválasztó ciklon
 
A számértékének meghatározásához szükséges az és sebességek ismerete. Előbbi
 
(4.52)
 
értéke az sugarú, magasságú palástfelületre (4.35. ábra) a gőzfázis térfogatárama alapján számítható. előbbi számítási összefüggéséből (miután értéke közel állandó) megállapítható, hogy a leválasztási hatásfok elméletileg nem, vagy alig függ a ciklon terhelésétől. A cseppelragadás szempontjából azonban figyelembe kell venni, hogy kisebb gőztermelésnél a porlasztás gyengül, és a cseppeloszlás a kisebb méretű cseppek irányába tolódik el. Így a gőz nedvességtartalma, egy adott ciklontípus után [4.59], kisebb terhelési tartományban a közegterhelés nyolcadik, nagyobb terhelési tartományban csak egyötödik hatványával változik.
 
A leválasztók sorba kapcsolása: A különféle leválasztótípusokat összehasonlítva [4.55]: a dróthálós leválasztóhoz viszonyítva a zsalus leválasztó mintegy 2–3-szoros, a ciklon 3–5-szörös költséget jelent, és 1–4-szeres, illetve 8–10-szeres áramlási veszteséget eredményez. Amennyiben egy leválasztótípussal nem érhető el a megfelelő eredmény, szokásos (mint a 4.27. ábra mutatja) több cseppleválasztó sorba kapcsolása. Leginkább az előleválasztó ciklonok után alkalmaznak zsalus, dróthálós kiegészítéseket (4.32. ábra). Olyan megoldások is ismertek, amikor a sorba kötött leválasztók közül az első kritikus terhelése felett üzemel, a leválasztott, szokásos cseppeloszlás helyett durva cseppeloszlást kibocsátva. Utóbbit a következő fokozat jobb hatásfokkal tudja leválasztani, így végeredményben az eredő cseppelragadás kisebb lesz. Ez esetben az első fokozatot agglomerátornak nevezik. Más esetben a két eltérő kialakítású fokozat közül az első a durvább, a második a finomabb cseppek leválasztására szolgál. Minden esetben figyelembe kell venni, hogy minden leválasztófokozat növeli az áramlási veszteséget, így az üzembiztonság érdekében szükséges optimális kialakításra (leválasztótípusa, fokozatszám stb.) kell törekedni.
 
Kétfokozatú elgőzölögtetés: Amennyiben a kazán működéséhez csak nagyobb sótartalmú (esetenként lágyítás nélküli nyers) víz állt rendelkezésre, a gőztisztaság biztosítására többfokozatú elgőzölögtetést alkalmaztak. A több zónára osztott elgőzölögtető rendszer egyes zónái eltérő sótartalmú kazánvízzel üzemeltek. A legkisebb sótartalom az első zónában volt, majd fokozatosan növekedett. Az első zóna táplálása tápvízzel, a többi zónáé az előző zóna kazánvizével történt. Így a gőz sótartalma, illetve az általa elragadott vízcseppek sótartalma is fokozatosan növekedett. Leiszapolás (sóelvezetés) az utolsó zónából történt. A gőz sótartalmának minimalizálására a legnagyobb arányú gőzelvezetés az első, legkisebb kazánvíz-sótartalmú zónából történt. A leggyakrabban a kétfokozatú (két zónára osztott) elgőzölögtetést alkalmazták. (4.36. ábra).
 
4.36. ábra. Kétfokozatú elgőzölögtetés
 
A későbbi változatoknál a második fokozatot ciklonleválasztóval alakították ki (4.36. ábra (b)), így az ebből történő cseppelragadás csökkenthető volt. A gőz sótartalma a tápvíz sótartalma, a lelúgozás és az első fokozat gőztermelési aránya, valamint a cseppelragadás hatását is figyelembe vevő megoszlási tényezők alapján számítható [4.1], [4.37]. Az ilyen kazánokkal üzemviteli gondok a tápvízminőség utólagos javításával jelentkezhettek, mivel a bevezetett sótartalom csökkentésével a kazánvíz eredetileg előírt sótartalmára tekintettel rendszerint csökkentették a leiszapolást, ezzel a második fokozat tápvízáramát. Ekkor a szokásosan alkalmazott szilárd lúgosítószerek esetén, amelyek visszamaradnak a kazánvízben, a két zóna között nagy koncentráció- és lúgosságiszám-különbség alakulhat ki [4.61]. Ilyen esetben a koncentráció kiegyenlítése a kazánvíz egy részének második zónából történő visszavezetésével lehetséges.

Kazánok

Tartalomjegyzék


Kiadó: Akadémiai Kiadó

Online megjelenés éve: 2020

ISBN: 978 963 454 492 0

Háztartásokban, ipari üzemekben, erőművekben széleskörűen alkalmaznak tüzelőanyag elégetésével vagy más módon bevezetett hőmennyiség hőhordozó közeggel történő hasznosítására szolgáló berendezéseket: kazánokat. A könyv ezek tervezésének, üzemeltetésének, vizsgálatának szerteágazó konstrukciós, hőtechnikai, áramlástani, szilárdságtani, vegyészeti és más ismereteit foglalja össze, az egyetemi oktatásban és a gyakorlati életben is hasznosítható módon. Az elméletet élő gyakorlattal ötvözve elsősorban erőműi, ipari, távhőszolgáltató kazánokkal foglalkozik, de a folyamatokra, szerkezeti kialakításra, gyakorlati viselkedésre vonatkozó utalások kisebb berendezéseknél is alkalmazhatók.

Hivatkozás: https://mersz.hu/gerse-kazanok//

BibTeXEndNoteMendeleyZotero

Kivonat
fullscreenclose
printsave