A fizika kultúrtörténete a kezdetektől a huszadik század végéig
5.7.2. Kiegészítések
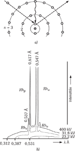
a) Az egzotikus atomok kutatásának korszerű problémái kapcsán gyakran alkalmaznak, ellenőriznek, illetve korrigálnak klasszikus gondolatokat. Ezek révén új betekintésre nyílik mód az elemi részecskék világába. A spektrum látható tartományba eső részére már vetettünk egy futó pillantást. A nagy rendszámú atommagok körüli belső pályák energiái nagyon nagy negatív értéket vesznek fel, hiszen az E energia kifejezésében Z2 arányossági tényező szerepel. Az ott lejátszódó átmenetek ezért röntgensugárzással, a hν ≈ (10–500) keV tartományba eső λ-kvantumok kisugárzásával járnak. Ezek a legbelső pályák az atom alapállapotában telítettek, ezért csak akkor történhet átmenet, ha valamelyik szintről az elektront valami kilöki. A köznapi röntgenberendezésekben ezt a feladatot a katódtól az anód felé gyorsított elektronok látják el. Az üresen maradt helyre átmenő elektronok sugárzása kirajzolja az anódanyag karakterisztikus röntgenspektrumát. A kilökés céljával belőtt elektronok egy részét azonban a mag elektromos tere fékezi le, amelynek során folytonos spektrumú fékezési sugárzást bocsát ki. Végül egy felülről élesen levágott fékezési spektrum jön létre (a Duane–Hunt-határ, 1915). A határt az a sugárzás adja, amikor az elektron teljes energiáját fékezési sugárzásként adja le. Az 5.4-13 ábrán megadott röntgensugárzási hullámhossz ezzel a frekvenciával közvetlen összhangban van. Az Auger-hatás (P. V. Auger, 1926) az átmenetek egy speciális típusát reprezentálja: a fotonmentes átmeneteket. Egy nagy energiájú elektron kilök a belső héjak valamelyikéről egy erősen kötött elektront. A külső pályákról tehát egy elektron beugrik az üresen maradt belső pályára. Az ekkor felszabaduló energiát nem fény formájában sugározza szét az atom, hanem egy külső pályán lévő elektronnak adja át, amit Auger-elektronnak hívnak. Az Auger-hatás olyan fényelektromos hatásként is értelmezhető, amely az atom belső pályáin játszódik le. b) A rhodium antikatódos fékezési és karakterisztikus sugárzása. A 23,2 kV feszültséggel gyorsított elektronok a K héj elektronjait még nem tudják ionizálni, ezért kizárólag a fékezési sugárzás spektruma jelenik meg. 31,8 eV viszont már nagyobb, mint a K héjhoz tartozó ionizációs energia. Egyetlen felvételben lehetőséget ad a teljes elnyelési K spektrum megjelenítésére. Magasabb feszültséget alkalmazva, a karakterisztikus vonalak helyzete nem változik, csak a sugárzásuk intenzitása. Ugyanakkor a folytonos spektrum határa az eU = hν = hc/λ egyenlet szerint a kisebb hullámhosszúság tartományába tolódik el. A csillagászati objektumok röntgensugárzásának vizsgálatára elsősorban az Uhuru (1970) és a Rosat (1990) röntgenműholdak szolgálnak. A világűrben akkor keletkezik röntgensugárzás, ha a részecskék energiája 105–109K hőmérsékletnek felel meg. Ilyen óriási sebességek fekete lyukak közvetlen közelében fellépő gravitációs terekben alakulhatnak ki. Valójában ez az a hatás, amelynek révén a fekete lyukakat azonosítják. Amikor egy töltött részecske intenzív mágneses térben spirális pályán mozog, akkor is a röntgentartományban sugároz. Ez a szinkrotron sugárzás például a nagy napkitörések során is bekövetkezik. Az inverz Compton-effektus elektron-foton ütközés során fellépő hatás, amelynek során a foton energiája megnő. Ez az effektus is megnyilvánulhat röntgensugárzásként. A jelenleg fejlesztési fázisban lévő röntgen-holográfia az anyagvizsgálat és anyagminősítés egészen új módszereinek ígéretét hordja. |
Tartalomjegyzék
- A FIZIKA KULTÚRTÖRTÉNETE a kezdetektől a huszadik század végéig
- Impresszum
- Szerkesztői előszó
- Bevezetés
- Első rész
- Második rész
- Az örökség sáfárai
- 2.1. Ezer év mérlege
- 2.2. Az antik örökség átmentése
- 2.3. Hinduk és arabok
- 2.4. Nyugat magára talál
- 2.4.1. Fibonacci: a számolás művésze
- 2.4.2. Jordanus Nemorarius, a statikus
- 2.4.3. A leíró mozgástan: Nicole d’Oresme és a Merton College
- 2.4.4. A megreformált peripatetikus dinamika
- 2.4.5. Buridan impetuselmélete
- 2.4.6. Fizika az asztronómiában
- 2.4.7. Eredmények
- 2.4.8. Nicole d’Oresme érvei a Föld mozgása mellett
- 2.4.1. Fibonacci: a számolás művésze
- 2.5. Természetfilozófia a középkorban
- 2.6. A reneszánsz és a fizika
- Az örökség sáfárai
- Harmadik rész
- Rombolás és alapozás
- Negyedik rész
- A klasszikus fizika kiteljesedése
- 4.1. A XVIII. század induló tőkéje
- 4.2. Méltó utódok: d’Alembert–Euler–Lagrange
- 4.3. A fény százada
- 4.4. Az effluviumtól az elektromágneses térig
- 4.4.1. Petrus Peregrinus és Gilbert
- 4.4.2. A haladás menetrendje
- 4.4.3. Kvalitatív elektrosztatika
- 4.4.4. A mérő elektrosztatika
- 4.4.5. Az elektromos töltések áramlása
- 4.4.6. Az áram mágneses tere. A természetfilozófia termékenyítő hatása
- 4.4.7. Az áramok kölcsönhatása: a newtoni gondolat kiterjesztése
- 4.4.8. Faraday: a legnagyobb kísérletező
- 4.4.9. Maxwell: az elektromágneses tér
- 4.4.10. Az elektromágneses fényelmélet
- 4.4.11. Lorentz elektronelmélete
- 4.4.1. Petrus Peregrinus és Gilbert
- 4.5. Hő és energia
- 4.5.1. A hőmérő
- 4.5.2. A caloricum mint előremutató elmélet: Joseph Black
- 4.5.3. És mégis mozgás a hő: Rumford
- 4.5.4. Fourier elmélete a hővezetésről
- 4.5.5. A caloricum és állapotegyenlet
- 4.5.6. A Carnot-ciklus
- 4.5.7. A hő kinetikus elmélete: az első lépések
- 4.5.8. Az energiamegmaradás tétele
- 4.5.9. A kinetikus gázelmélet
- 4.5.10. A termodinamika második főtétele
- 4.5.11. Entrópia és valószínűség
- 4.5.1. A hőmérő
- 4.6. Anyagszerkezet és elektromosság: a klasszikus atom
- A klasszikus fizika kiteljesedése
- Ötödik rész
- A XX. század fizikája
- 5.1. „Felhők a XIX. századi fizika egén”
- 5.2. A relativitáselmélet
- 5.2.1. Az előzmények: az abszolút sebesség mérésének meghiúsulása
- 5.2.2. Beillesztési kísérletek
- 5.2.3. A főszereplők: Lorentz, Einstein, Poincaré
- 5.2.4. Távolság- és időmérés
- 5.2.5. A tömeg–energia-ekvivalencia
- 5.2.6. Az anyag mint a tér geometriájának meghatározója
- 5.2.7. Einstein a téridőről
- 5.2.8. Newton, Einstein és a gravitáció
- 5.2.1. Az előzmények: az abszolút sebesség mérésének meghiúsulása
- 5.3. A kvantumelmélet
- 5.3.1. A feketesugárzás a klasszikus fizikában
- 5.3.2. Planck: a megoldáshoz az entrópián keresztül vezet az út
- 5.3.3. Az energiakvantum megjelenik
- 5.3.4. Einstein: a fény is kvantált
- 5.3.5. Bohr: az atom „klasszikus” kvantumelmélete
- 5.3.6. A sugárzási formula statisztikus levezetése: előjáték a kvantumelektronikához
- 5.3.7. A mátrixmechanika: Heisenberg
- 5.3.8. Einstein és Heisenberg
- 5.3.9. A hullámmechanika: Schrödinger
- 5.3.10. Heisenberg: a koppenhágai értelmezés
- 5.3.11. Operátorok. Kvantum-elektrodinamika
- 5.3.12. A kauzalitás problémája
- 5.3.13. Neumann János a kauzalitásról és a rejtett paraméterekről
- 5.3.14. Munkaeszköz és filozófia
- 5.3.15. Mi maradt a klasszikus fizikából?
- 5.3.1. A feketesugárzás a klasszikus fizikában
- 5.4. Magszerkezet. Magenergia
- 5.4.1. Visszatekintés az első három évtizedre
- 5.4.2. Az atommagra vonatkozó ismeretek főbb állomásai
- 5.4.3. Miért fluoreszkál az uránsó: Becquerel
- 5.4.4. A hősi kor főszereplői: a Curie házaspár és Rutherford
- 5.4.5. A Rutherford–Bohr-modell kialakul
- 5.4.6. Az első mesterséges magátalakítás
- 5.4.7. A kvantummechanika a magjelenségekre is alkalmazható
- 5.4.8. Rutherford sejtése, Chadwick mérése: a neutron
- 5.4.9. A mag felépítése: magmodellek
- 5.4.10. A maghasadás: kísérleti evidencia, elméleti kétely
- 5.4.11. A láncreakció: az atomenergia nagybani felszabadítása valósággá válik
- 5.4.12. Fúziós energiatermelés: a csillagok fűtőanyaga az ember kezében
- 5.4.13. A fizikus felelőssége
- 5.4.1. Visszatekintés az első három évtizedre
- 5.5. Törvény és szimmetria
- 5.5.1. A történész szerepe a ma fizikájának leírásában
- 5.5.2. Az elemi részek megjelenési sorrendje
- 5.5.3. Néhány szó a kozmikus sugárzásról
- 5.5.4. Gyorsítók. Detektorok
- 5.5.5. Az alapvető kölcsönhatások
- 5.5.6. Megmaradási törvények
- 5.5.7. Szimmetria–invariancia–megmaradás
- 5.5.8. Jobb–bal szimmetria?
- 5.5.9. „A kis aszimmetria növeli az esztétikumot”
- 5.5.10. Vissza az apeironhoz?
- 5.5.11. Energia az elemi részek segítségével?
- 5.5.12. A harmadik évezred küszöbén
- 5.5.1. A történész szerepe a ma fizikájának leírásában
- 5.6. Az ember és a kozmosz
- 5.7. Összegzés és kitekintés
- A XX. század fizikája
- Mellékletek
- I. SZÍNES TÁBLA
- II. SZÍNES TÁBLA
- III. SZÍNES TÁBLA
- IV. SZÍNES TÁBLA
- V. SZÍNES TÁBLA
- VI. SZÍNES TÁBLA
- VII. SZÍNES TÁBLA
- VIII. SZÍNES TÁBLA
- IX. SZÍNES TÁBLA
- X. SZÍNES TÁBLA
- XI. SZÍNES TÁBLA
- XII. SZÍNES TÁBLA
- XIII. SZÍNES TÁBLA
- XIV. SZÍNES TÁBLA
- XV. SZÍNES TÁBLA
- XVI. SZÍNES TÁBLA
- XVII. SZÍNES TÁBLA
- XVIII. SZÍNES TÁBLA
- XIX. SZÍNES TÁBLA
- XX. SZÍNES TÁBLA
- XXI. SZÍNES TÁBLA
- XXII. SZÍNES TÁBLA
- XXIII. SZÍNES TÁBLA
- XXIV. SZÍNES TÁBLA
- XXV. SZÍNES TÁBLA
- XXVI. SZÍNES TÁBLA
- XXVII. SZÍNES TÁBLA
- XXVIII. SZÍNES TÁBLA
- XXIX. SZÍNES TÁBLA
- XXX. SZÍNES TÁBLA
- XXXI. SZÍNES TÁBLA
- XXXII. SZÍNES TÁBLA
- I. SZÍNES TÁBLA
- Irodalom
- Az elemek periódusos rendszere
- Az elemek és részecskék neveinek eredete – És a fizika alapállandói
Kiadó: Akadémiai Kiadó
Online megjelenés éve: 2020
ISBN: 978 963 454 490 6
A magyar természettudományos könyvkiadás talán legjelentősebb műve most először jelenik meg a legendás szerző által megalkotott teljességében. A 2001-ben elhunyt Simonyi Károly legutoljára egy német kiadás számára dolgozott könyvén, s az ekkor keletkezett szakaszok, amelyek a XX. század utolsó évtizedét is átfogják, csak most jutnak el a hazai olvasókhoz.
A fizika kultúrtörténete az emberi gondolkodással egyidős tudományág fejlődését mutatja be a kezdetektől napjainkig. Az izgalmas történetet a fontos mérföldköveket jelentő kísérletek, elméletek és bizonyítások könnyen érthető leírásán túl a fizikával sokszor szorosan összefonódva kibontakozó egyetemes bölcselet és művészet alkotásaiból választott szemelvények illusztrálják.
A könyv tanúsága szerint egy-egy jelentős természettudományos felismerés ugyanakkora teljesítmény és a civilizáció ugyanolyan ünnepe, mint a kultúra vagy művészet bármely közismert, nevezetes alkotása. Mindkettő egy tőről, az emberi zsenialitásból fakad. A mű népszerűségét éppen az adja, hogy befogadásához nem kell túlzottan sok fizikai ismeret, így mindenki, aki a kultúra értékei iránt fogékony, értékes olvasmányként forgathatja.
Hivatkozás: https://mersz.hu/simonyi-a-fizika-kulturtortenete//
BibTeXEndNoteMendeleyZotero


