Lukovics Miklós

Az önvezető járművek és a városi társadalom


12.4. Az URBTAUT-modell konceptualizálása

A következőkben tehát arra teszünk kísérletet, hogy létrehozzunk egy olyan új, kiterjesztett modellt, amely egyrészt magában foglalja a korábbi modellváltozatok előnyös tulajdonságait, másrészt kiküszöböli azok hiányosságait: azaz a modellt specifikálja kifejezetten az önvezető járművek technológiaelfogadására, és kiterjeszti azok kapcsolódó városfejlesztési innovációinak elfogadására is. Mindezt úgy teszi, hogy illeszkedjen Venkatesh többszintű modelljének logikájához. Munkánk során az UTAUT2-modellből indulunk ki, melyhez kiegészítéseket három ponton hajtunk végre:
  1. Az UTAUT2-modell magyarázó változói közé beemelünk önvezetőjármű-spefifikus tényezőket.
  2. Létrehozzuk a Vanketesh és szerzőtársai (2016) többszintű modelljében definiált technológiaelfogadás és -használat magasabb szintű kontextuális tényezőinek szintjét, és az önvezető járművek városi elterjedését segítő kapcsolódó innovációkra specifikáljuk.
  3. Specifikáljuk a moderáló változókat a fentebbiek értelmében, és létrehozzuk a Vanketesh és szerzőtársai (2016) többszintű modelljében definiált technológiaelfogadás és -használat egyéni szintű kontextuális tényezőinek szintjét.
 
A 12.3.1. fejezetben bemutatott kiterjesztett technológiaelfogadási modellek kiegészítő tényezőit megvizsgálva megállapíthatjuk, hogy a leggyakrabban két tényező, a biztonság (Osswald, 2012; Bellet et al., 2023; Nordhoff el al, 2019; Lukovics et al., 2023), valamint az észlelt kockázat (aggodalom) jelent meg (Osswald, 2012; Bellet et al., 2023; Nordhoff el al., 2019; Zhang et al., 2021; Lukovics et al., 2023). Ráadásul a modellek többségében a biztonság és az észlelt kockázat (aggodalom) jelentős magyarázóerővel bírt, így ezen két tényezőt integráltuk kiterjesztett modellünkbe.
Fontos hangsúlyozni, hogy bár a szakirodalomban a bizalom önálló tényezőként is megjelenik több modellváltozatban (Vorm–Combs, 2022; Liu et al., 2019; Acharya–Mekker, 2022), korábbi vizsgálataink alapján a bizalom szervesen összefügg a biztonság észlelésével, így korábbi munkáink során ezt a „biztonság” tényezőn belül vizsgáltuk (Lukovics et al., 2023). Korábbi tapasztalataink alapján a bizalom integrálása a „biztonság” faktorba statisztikailag megalapozott és interpretálható eredményeket hozott, így az új modellben sem kezeljük különálló változóként. Ugyanakkor elismerjük annak kiemelt jelentőségét az önvezető járművek elfogadása szempontjából. Mindezek alapján modellünkbe két új magyarázó változó kerül azon tényezők közé, amelyek a jármű-technológia elfogadását ragadják meg:
  • A „járműbiztonság” magyarázó változónk azt méri, hogy mennyire érzik az emberek veszélyesnek vagy biztonságosnak az önvezető járművek használatát. Idetartoznak például olyan állítások, hogy az önvezető csökkentené a balesetek számát, vagy hogy az emberek inkább megbíznának egy önvezető járműben, mint egy humán vezetőben.
  • Az „észlelt kockázat (aggodalom)” magyarázó változónk az önvezető járművekkel kapcsolatos szorongásokra és aggodalmakra fókuszál. Idesorolhatók a technológia megbízhatóságával és a környezeti működési feltételekkel kapcsolatos aggodalmak (például meghibásodás, hackertámadás, rossz időjárási körülmények).
 
Áttérve modellünk új szintjére: a technológiaelfogadás és -használat magasabb szintű kontextuális tényezőit könyvünk 10. fejezetében lehatárolt faktorokból vezetjük le, melyek a városi önvezetőjármű-felkészültség feltételeit rendszerezik. Ezen kilenc faktorba foglalt városi innovációk megvalósítása szükséges ahhoz, hogy az önvezető járművek nagy volumenű városi elterjedése biztonságos, hatékony és fenntartható legyen. Amennyiben az A-I faktorokat megtestesítő innovációkat a város megvalósítja, akkor azok lakossági elfogadása jelentősen befolyásolhatja az önvezető technológia komplex, holisztikus szemléletű elfogadását. Lényeges azonban, hogy a faktorok városi szemszögből kerültek megfogalmazásra aszerint, hogy mit kell tenniük a városoknak. Mindezeket át kell konvertálnunk lakossági szemszögre, arra, hogy az egyes faktorok város általi végrehajtásából mit érzékel a lakosság. Például a lakosság számára nem a várostervezés mint faktor lesz az érdekes, hanem az a megváltozott városkép, amely a tervek megvalósítása után előáll. A kiterjesztett technológiaelfogadási modellünkbe ezek alapján a lakossági szemszögre transzformált faktorokat illesztjük be (12.2. táblázat).
 
12.2. táblázat. A technológiaelfogadás és -használat magasabb szintű kontextuális tényezői
Faktorok (városi szemszögből)
A technológiaelfogadás és -használat magasabb szintű kontextuális tényezői (Lakossági szemszögből)
A. Várostervezés és területhasználat
Megváltozott városkép
B. Fizikai infrastruktúra
C. CAV-technológia és virtuális infrastruktúra
Kapcsolódó technológiák
D. Adatok
Adatbizalom
E. Biztonság
Városi biztonság
F. Városi mobilitás és integráció
Integrált közlekedési rendszer
G. Szabályozás
A használat módja
H. Üzleti modell
I. Lakosság felkészítése
Lakossági részvétel
Forrás: saját szerkesztés
 
A technológiaelfogadás és -használat magasabb szintű kontextuális tényezőit az alábbiak szerint értelmezzük:
  1. Megváltozott városkép: Ez a kategória magában foglalja az önvezető járművek városi elterjedéséből adódó fizikai és vizuális változásokat, amelyek a városi környezetet érintik. Idetartoznak a csökkentett számú parkolóhelyek, az átszállási pontok kialakítása, a zöldterületek növelése, valamint az utak és közlekedési sávok átalakítása. A lakosság számára ez nem csupán esztétikai kérdés, hanem az életminőséget és a város használhatóságát is befolyásolhatja. A városkép elfogadása tehát attól függ, hogy a városi területek új felosztása mennyire szolgálja a lakók érdekeit és szükségleteit, például közösségi terek létrehozásával vagy a gyalogos- és kerékpáros közlekedés elősegítésével.
  2. Kapcsolódó technológiák: Ez a kategória az önvezető járművek tömeges működéséhez szükséges városi technológiai feltételeket foglalja magában, beleértve a V2I- (Vehicle-to-Infrastructure), V2P- (Vehicle-to-Pedestrian) és egyéb kommunikációs technológiák kiépítését. Idetartozik az 5G tornyok telepítése, szenzorok beépítése az úttestbe, járdákba, valamint az önvezető járműveket támogató intelligens rendszerek. A lakosság elfogadása ebben az esetben a technológiák használhatóságától, láthatóságától és észlelhetőségétől függ.
  3. Adatbizalom: Az önvezető járművek működéséből származó adatok kezelése és megosztása kulcsfontosságú különös tekintettel a magánélet védelmével kapcsolatos aggodalmakra, például a kamerák által gyűjtött adatok kezelésére. Magában foglalja továbbá az adatok várostervezési és közlekedési optimalizációs célokra történő felhasználását, ugyanakkor biztosítva a személyes adatok védelmét. Az adatbizalom a lakosság körében azt jelenti, hogy bíznak abban, hogy az önvezető járművek által gyűjtött információk nem kerülnek rossz kezekbe, és kizárólag társadalmilag hasznos célokra használják fel őket.
  4. Városi biztonság: Az önvezető járművek tömeges elterjedése új biztonsági helyzetek elfogadását kívánja meg a városlakóktól. Védtelen gyalogosként és kerékpárosként szembe kell nézniük azzal, hogy emberi irányítás nélküli járművek között közlekednek, amelyek váratlan helyzetekben másképp reagálhatnak. Hagyományos autósok számára is új helyzet lehet, hogy az önvezető járművek más dinamikával vesznek részt a közlekedésben, és protokoll szerinti vészriasztásokkal leterhelhetik a mentőket, tűzoltókat, rendőröket. A kiberbiztonsági kockázatok szintén fokozott figyelmet igényelnek, hiszen ezek a járművek potenciális célpontjai lehetnek rossz szándékú támadásoknak, amelyeket a lakosság nehezen tud előre értelmezni.
  5. Integrált közlekedési rendszer: Ez a kategória az önvezető járművek zökkenőmentes integrálását jelenti a város teljes közlekedési rendszerébe, amely lehetővé teszi a különböző közlekedési módok egyszerű kombinálását egyetlen platformon keresztül. Az integráció növeli a közlekedés hatékonyságát, csökkenti a forgalmat, és elősegíti a fenntartható városi mobilitást. A lakossági elfogadás szempontjából kulcsfontosságú a rendszer kényelmessége és hozzáférhetősége, valamint az, hogy az integrált rendszer valódi előnyöket nyújtson a felhasználók számára.
  6. A használat módja: Ez a kategória a fenntartható városi mobilitás számára kívánatos önvezetőflotta-használatra történő lakossági átállás segítését jelenti a saját tulajdonú járművel történő közlekedés nehezítésével párhuzamosan. Az önvezető flották használatának ösztönzése és az egyéni autótulajdonlás visszaszorítása szabályozási és gazdasági eszközökkel történhet, melyek lakossági elfogadása kulcskérdés, és korántsem nyilvánvaló.
  7. Lakossági részvétel: Az önvezető járművek széles körű városi elterjedéséhez elengedhetetlen a lakosság tájékoztatása és bevonása. Ez magában foglalja a technológia működésének és városi hatásainak megértetését, valamint a döntéshozatali folyamatokban való részvétel lehetőségét. A lakosság bevonása növeli az önvezető járművek elfogadottságát, és segíti a várost abban, hogy olyan rendszereket alakítson ki, amelyek megfelelnek a helyi igényeknek és elvárásoknak. Kulcskérdés ugyanakkor, hogy a lakosság mennyire nyitott ezen új információk befogadására, a participatív tervezésre és megvalósításra.
 
Modellünk alsó részében specifikáljuk a moderáló változókat, és létrehozzuk a Vanketesh és szerzőtársai (2016) többszintű modelljében definiált technológiaelfogadás és -használat egyéni szintű kontextuális tényezőinek szintjét. Azon változókat emeljük be modellünk ezen szintjére, amelyekről empirikusan verifikálták azt, hogy nagy mértékben befolyásolják az önvezetőtechnológia-elfogadást: nem, életkor, városméret, foglalkozás, jelenlegi közlekedési mód (König–Neumayr 2017, Liljamo et al 2018, Audi-Ipsos 2019, Peng Liu 2019, Wang et al 2020, Csizmadia 2021).
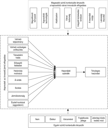
Mindezek alapján összeillesztjük a városi lakosság kiterjesztett önvezetőtechnológia-elfogadási modelljét, mely egyaránt magában foglalja a járműelfogadást és a kapcsolódó városfejlesztési innovációk elfogadását (12.1. ábra). Az így létrejövő modell URBTAUT (Urban Acceptance and Use of AV-Technology) elnevezése az „urban” (városi) és az UTAUT kifejezésekből származik, ezzel utalva arra, hogy a modell az UTAUT keretrendszerére épít, de fontos városi innovációk elfogadására is kiterjed.
A modell kiterjesztése zárt rendszeren belül valósul meg abban az értelemben, hogy kizárólag tudományosan validált elemek integrálásával jön létre. Két új magyarázó változóval egészítjük ki: a biztonsággal és a kockázattal (aggodalommal), amelyek az áttekintett kiterjesztett szakirodalmakban a leggyakrabban előforduló és legerőteljesebb magyarázóerővel rendelkező tényezők. Emellett létrehozzuk a technológiaelfogadás és -használat magasabb szintű kontextuális tényezőit, illeszkedve Venkatesh és szerzőtársai (2016) többszintű modelljének logikájához. Ezen tényezők rendszerezése jelen könyv 10. fejezetében történt, 223 tudományosan validált változó strukturált szöveg- és tartalomelemzésével. Az URBTAUT-modell tehát integrálja egyrészt a speciálisan önvezető járművekre validált új szempontokat, másrészt a kapcsolódó városfejlesztési innovációk elfogadásának dimenzióit is. Ezzel egy olyan holisztikus megközelítést hoztunk létre, amely mind a technológia, mind a városi szövetbe illesztés szempontjából képes megragadni a lakosság véleményét és elvárásait.
 
12.1. ábra. A városi lakosság kiterjesztett önvezetőtechnológia-elfogadási modellje, az URBTAUT
Forrás: saját szerkesztés

Az önvezető járművek és a városi társadalom

Tartalomjegyzék


Kiadó: Akadémiai Kiadó

Online megjelenés éve: 2025

ISBN: 978 963 664 154 2

Az önvezető járművek elterjedése új kihívások elé állítja a városokat. A technológia ígéretes, de a sikeres integráció nemcsak műszaki kérdés: kulcsszerep jut a városi döntéshozóknak és az érintett közösségeknek is. E monográfia a felelősségteljes innováció szemléletében vizsgálja, hogyan készülhetnek fel a városok az önvezető járművek érkezésére. Interdiszciplináris kutatásra építve mutatja be a városi lakosság és az önkormányzatok attitűdjeit, kockázatérzékelését és elvárásait. A kötet nem csupán a jelenlegi állapotot tárja fel, hanem gyakorlati keretrendszert is kínál a városi önvezetőjármű-felkészültség növelésére. Hasznos olvasmány kutatók, szakpolitikusok, városfejlesztők és mindazok számára, akik tenni szeretnének a technológiai átmenet társadalmilag elfogadott és sikeres megvalósításáért.

Hivatkozás: https://mersz.hu/lukovics-az-onvezeto-jarmuvek-es-a-varosi-tarsadalom//

BibTeXEndNoteMendeleyZotero

Kivonat
fullscreenclose
printsave