Lukovics Miklós

Az önvezető járművek és a városi társadalom


4.4. A magyar lakosság önvezetőtechnológia-elfogadásának jellemzői kérdőívek alapján

A PLS–SEM-modellben nincs globális, az egész modell jóságát leíró indikátor. A modell jellemzőinek vizsgálatakor a látens változók jóságát (megbízhatóság, diszkriminanciaérvényesség, konvergenciaérvényesség), illetve a közvetlen hatások (útegyütthatók) szignifikanciáját vizsgáljuk (Henseler et al., 2009).
A látens változók megbízhatóságát a kompozitmegbízhatósági (reliabilitási) mutató segítségével vizsgálhatjuk, amelynek értéke legalább 0,7 kell hogy legyen. A konvergenciaérvényesség esetében azt vizsgáljuk, hogy egy változóhalmaz az adott mesterséges változónak reprezentánsa-e. Ezt az AVE-mutatóval (average variance extracted) jellemezhetjük, amely megadja, hogy az egyes látens változók átlagosan hány százalékban őrzik meg manifeszt változóik varianciáját. Az AVE értékével szembeni elvárás, hogy legalább 0,5 legyen, ami esetünkben ugyancsak teljesül (4.2. táblázat).
 
4.2. táblázat. A látens változók főbb jellemzői
 Látens változók
Kompozit reliabilitás
AVE
Az új technológiák iránti lelkesedés
0
,936
0
,679
Jelenlegi otthoni technológiahasználat
0
,843
0
,733
Vezetéstámogató eszközök ismertsége
1
,000
1
,000
Önvezető technológia iránti információigény
1
,000
1
,000
Önvezető technológia várt előnyei
0
,948
0
,603
Önvezető technológia várt hátrányai
0
,916
0
,529
Új technológiák észlelt hasznossága
0
,959
0
,887
Önvezető technológia elfogadása
0
,835
0
,560
Forrás: saját szerkesztés
 
A diszkriminanciaérvényesség vizsgálatával azt vizsgáljuk, hogy a látens változók kellőképpen elkülönülnek-e. Ez történhet a Fornell–Larcker-kritérium, illetve a HTMT korrelációs arányszám alapján (4.3. táblázat). Előbbivel azt ellenőrizzük, hogy a látens változók AVE-jének gyöke (főátló) magasabb-e, mint a többi látens változóval vett páronkénti korrelációjuk, amit úgy képzelhetünk el, hogy minden faktor esetében a kapcsolódó manifeszt változókkal vett átlagos korrelációja nagyobb kell hogy legyen, mint a többi faktorral alkotott korrelációja. A HTMT számlálójában a két látens változóhoz kapcsolódó manifeszt változók közötti páronkénti korrelációs együtthatók átlaga, míg nevezőjében az azonos faktorokhoz kapcsolódó manifeszt változók közötti páronkénti korrelációs együtthatók átlaga szerepel. A diszkriminanciaérvényesség feltételezhetőségéhez elegendő, ha a HTMT-indexek értékei 0,9 alattiak (Henseler et al., 2015; Kovács–Bodnár, 2016).
 
4.3. táblázat. A diszkriminanciaérvényesség vizsgálata
Látens változók
Az új technológiák iránti lelkesedés
Jelenlegi otthoni technológiahasználat
Vezetéstámogató eszközök ismertsége
Önvezető technológia iránti információigény
Önvezető technológia várt előnyei
Önvezető technológia várt hátrányai
Új technológiák észlelt hasznossága
Önvezető technológia elfogadása
Fornell–Larcker-kritérium vizsgálata
Az új technológiák iránti lelkesedés
0
,824
 
 
 
 
 
 
 
Jelenlegi otthoni technológiahasználat
0
,130
0
,856
 
 
 
 
 
 
Vezetéstámogató eszközök ismertsége
0
,231
0
,316
1
,000
 
 
 
 
 
Önvezető technológia iránti információigény
0
,169
0
,314
0
,551
1
,000
 
 
 
 
Önvezető technológia várt előnyei
0
,397
0
,195
0
,344
0
,280
0
,777
 
 
 
Önvezető technológia várt hátrányai
–0
,289
–0
,020
–0
,096
–0
,048
–0
,175
0
,727
 
 
Új technológiák észlelt hasznossága
0
,233
0
,225
0
,252
0
,220
0
,273
–0
,087
0
,942
 
Önvezető technológia elfogadása
0
,507
0
,245
0
,389
0
,350
0
,666
–0
,347
0
,316
0
,748
HTMT értékek
Jelenlegi otthoni technológiahasználat
0
,146
 
 
 
 
 
 
 
Vezetéstámogató eszközök ismertsége
0
,236
0
,331
 
 
 
 
 
 
Önvezető technológia iránti információigény
0
,175
0
,332
0
,551
 
 
 
 
 
Önvezető technológia várt előnyei
0
,422
0
,219
0
,352
0
,284
 
 
 
 
Önvezető technológia várt hátrányai
0
,289
0
,081
0
,101
0
,074
0
,189
 
 
 
Új technológiák észlelt hasznossága
0
,246
0
,233
0
,260
0
,226
0
,284
0
,101
 
 
Önvezető technológia elfogadása
0
,611
0
,304
0
,439
0
,396
0
,787
0
,375
0
,370
 
Forrás: saját szerkesztés
 
A közvetlen kapcsolatok, azaz a direkt hatások szignifikáns voltának vizsgálatára közvetlenül nincs lehetőség, így 5000 almintás bootstrap mintavételt alkalmaztunk (4.4. táblázat). Ez alapján megállapítható, hogy két hatás kivételével mindegyik közvetlen hatás szignifikáns. A két nem szignifikáns hatás a vezetéstámogató eszközök ismertségének és az önvezető technológia iránti információigénynek az önvezető technológia várt hátrányaira gyakorolt hatása, ami összhangban áll Páthy azon megállapításával, hogy a várt hárányokat az információhiány, illetve a megoldások nem ismerete abszolút nem befolyásolja.
 
4.4. táblázat. Az útegyütthatók tesztelésének eredményei
Kapcsolat
Útegyüttható
t-érték
p-érték
Az új technológiák iránti lelkesedés → Vezetéstámogató eszközök ismertsége
0
,142
5
,011
<0
,001
Az új technológiák iránti lelkesedés → Önvezető technológia várt előnyei
0
,307
9
,807
<0
,001
Az új technológiák iránti lelkesedés → Önvezető technológia várt hátrányai
–0
,283
8
,52
<0
,001
Az új technológiák iránti lelkesedés → Új technológiák észlelt hasznossága
0
,233
6
,749
<0
,001
Az új technológiák iránti lelkesedés → Önvezető technológia elfogadása
0
,211
8
,648
<0
,001
Jelenlegi otthoni technológiahasználat → Önvezető technológia elfogadása
0
,052
2
,457
0
,014
Vezetéstámogató eszközök ismertsége → Önvezető technológia várt előnyei
0
,188
5
,43
<0
,001
Vezetéstámogató eszközök ismertsége → Önvezető technológia várt hátrányai
–0
,044
1
,145
0
,252
Vezetéstámogató eszközök ismertsége → Önvezető technológia elfogadása
0
,07
2
,719
0
,007
Önvezető technológia iránti információigény → Vezetéstámogató eszközök ismertsége
0
,527
24
,952
<0
,001
Önvezető technológia iránti információigény → Önvezető technológia várt előnyei
0
,095
2
,936
0
,003
Önvezető technológia iránti információigény → Önvezető technológia várt hátrányai
0
,024
0
,714
0
,475
Önvezető technológia iránti információigény → Önvezető technológia elfogadása
0
,104
3
,903
<0
,001
Önvezető technológia várt előnyei → Önvezető technológia elfogadása
0
,467
19
,67
<0
,001
Önvezető technológia várt hátrányai → Önvezető technológia elfogadása
–0
,186
8
,457
<0
,001
Új technológiák észlelt hasznossága → Jelenlegi otthoni technológiahasználat
0
,225
7
,601
<0
,001
Új technológiák észlelt hasznossága → Önvezető technológia várt előnyei
0
,133
4
,444
<0
,001
Új technológiák észlelt hasznossága → Önvezető technológia elfogadása
0
,071
3
,136
0
,002
Forrás: saját szerkesztés
 
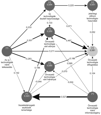
A nem szignifkáns utak elhagyása után alakult ki a végső modell (4.2. ábra). A látens változók belsejében a magyarázóerők, míg a nyilakon az útegyütthatók (standardizált regressziós béta együtthatók) láthatóak. Az önvezető technológiák elfogadását leíró modell 58,1%-os magyarázóerővel rendelkezik. Az önvezető technológiák elfogadására legnagyobb közvetlen hatással az önvezető technológiák várt előnyei vannak (beta = 0,467), minél erősebbnek ítéli meg valaki az önvezető technológia előnyeit, annál inkább elfogadja az önvezető technológiát. A várt hátrányok tekintetében egy közepes erősségű közvetlen hatásról beszélünk (beta = −0,186): minél erősebbnek ítéli meg valaki az önvezető technológia hátrányait, kockázatait, annál kevésbé fogadja el az önvezető technológiát. A standardizált útegyütthatók értékeinek összehasonlításából látható, hogy az önvezető technológia elfogadására a várt előnyök 2,5-szer erősebb hatást gyakorolnak, mint a várt hátrányok.
Az új technológiák iránti lelkesedésnek közepes erősségű pozitív közvetlen hatása van az önvezető technológia elfogadására. Emellett e tényező közepes erősségű, pozitív hatást gyakorol az önvezető technológiák várt előnyeire (beta = 0,307), az új technológiák észlelt hasznosságára (beta = 0,233), gyenge pozitív hatást gyakorol a vezetéstámogató eszközök ismertségére (beta = 0,142) és közepes erősségű, negatív hatást gyakorol az önvezető technológiák várt hátrányaira, ezeken keresztül pedig közvetetten is hat a önvezető technológia elfogadására, amelynek nagysága (az összekötő utak útegyütthatóinak szorzatösszegeként adódó) 0,253, közel megegyezik a közvetlen hatás nagyságával. Ebből fakadóan az új technológiák iránti lelkesedés teljes hatása az önvezető technológia várt előnyeihez hasonlóan pozitív és erős az önvezető technológia elfogadására (0,253 + 0,211 = 0,464).
Az önvezető technológiák iránti információigénynek pozitív, de gyenge közvetlen hatása (beta = 0,104) van az önvezető technológia elfogadására és az önvezető technológia várt előnyeire (beta = 0,095). Ugyanakkor erős pozitív hatást gyakorol (beta = 0,527) a vezetéstámogató eszközök ismertségére, ezeken keresztül pedig önvezető technológia elfogadására a közvetlen hatás erősségéhez hasonló (0,527 × 0,070 + 0,527 × 0,188 × 0,467 = 0,128) erősségű közvetett hatással bír, így összhatását tekintve a harmadik legerősebb (0,128 + 0,104 = 0,232) hatással bír az önvezető technológia elfogadására.
 
4.2. ábra. Az önvezető technológia elfogadásának modellje
Forrás: saját szerkesztés
 
A vezetéstámogató eszközök ismertsége, az új technológiák észlelt hatásossága és a jelenlegi otthoni technológiahasználat egyaránt pozitív, de gyenge hatással bír az önvezető technológia elfogadására, ugyanakkor előbbi két tényező közvetett hatása legalább akkora, mint a közvetlen hatása.
Összességében megállapítható, hogy az önvezető technológia elfogadására legnagyobb hatással az önvezető technológia várt előnyei és az új technológiák iránti lelkesedés bírnak. Közel azonos, de gyengébb hatása van az önvezető technológia iránti információigénynek, az önvezető technológia várt hátrányainak, a vezetéstámogató eszközök ismertségének és az új technológiák észlelt hasznosságának. A jelenlegi otthoni technológiahasználatnak gyenge, de szignifikáns hatása van (4.5. táblázat).
 
4.5. táblázat. Látens változók hatásai az önvezető technológia elfogadására
Látens változó
Közvetlen hatás
Közvetett hatás
Teljes hatás
Önvezető technológia várt előnyei
0
,467
 
0
,467
Az új technológiák iránti lelkesedés
0
,211
0
,253
0
,464
Önvezető technológia iránti információigény
0
,104
0
,127
0
,232
Önvezető technológia várt hátrányai
−0
,186
 
−0
,186
Vezetéstámogató eszközök ismertsége
0
,070
0
,096
0
,166
Új technológiák észlelt hasznossága
0
,071
0
,074
0
,145
Jelenlegi otthoni technológiahasználat
0
,052
 
0
,052
Forrás: saját szerkesztés
 
A faktorok közötti korrelációt vizsgálva azt láthatjuk, hogy az önvezető technológia elfogadása pozitív irányú közepes erősségű kapcsolatban áll az új technológiák iránti lelkesedéssel, a vezetéstámogató eszközök ismertségével és az önvezető technológia várt előnyeivel (4.6. táblázat).
A következőkben megpróbáljuk összekapcsolni eredményeinket a hasonló témákkal foglalkozó nemzetközi tanulmányok releváns megállapításaival. Fontos kiemelnünk azonban, hogy közvetlen összehasonlításra sem a minták különbözősége, sem a lekérdezés módja, sem a bázisul szolgáló technológia elfogadási modell (TAM, UTAUT), sem pedig a PLS–SEM-modellezés módszertanának sajátosságai miatt nincs lehetőség. Felelősségteljesen és megalapozottan kizárólag arra van lehetőségünk, hogy a PLS–SEM-módszertannal készült vizsgálatok legerősebb kapcsolatait megnevezzük, de ez esetben is olyan megjegyzéssel kell ellássuk eredményeinket, hogy az adott változók elnevezése az elemzői szubjektivitás eredménye, a mögötte álló kérdések és változók pedig jelentősen különbözhetnek, így mély és részletes következtetések levonására nem, csak általános tendenciák megállapítására alkalmasak.
 
4.6. táblázat. Látens változók közötti korrelációs kapcsolatok
 
Jelenlegi otthoni technológiahasználat
Vezetéstámogató eszközök ismertsége
Önvezető technológia elfogadása
Önvezető technológia iránti információigény
Önvezető technológia várt előnyei
Önvezető technológia várt hátrányai
Az új technológiák iránti lelkesedés
0
,130
0
,231
0
,507
0
,169
0
,397
−0
,288
Jelenlegi otthoni technológiahasználat
1
0
,316
0
,245
0
,314
0
,195
−0
,020
Vezetéstámogató eszközök ismertsége
 
1
0
,389
0
,551
0
,344
−0
,096
Önvezető technológia elfogadása
 
 
1
0
,35
0
,666
−0
,347
Önvezető technológia iránti információigény
 
 
 
1
0
,28
−0
,047
Önvezető technológia várt előnyei
 
 
 
 
1
−0
,174
Önvezető technológia várt hátrányai
 
 
 
 
 
1
Forrás: saját szerkesztés
 
Az alábbiakban a témában elvégzett PLS–SEM-vizsgálatok eredményeit tekintjük át. A szakirodalom azt sugallja, hogy azok az emberek, akik nyitottabbak az új technológiák iránt, valószínűleg nagyobb eséllyel fogadják el azokat (Manfreda et al., 2019; Garidis et al., 2020), amit az önvezető járművek elfogadása esetében is megerősítettünk.
Az önvezető járművekkel kapcsolatos előnyök több helyen megjelennek a nemzetközi szakirodalomban (Manfreda et al., 2019; Liu et al., 2019), ami a mi esetünkben viszont a legerősebb közvetlen és teljes kapcsolatot mutatta. Érdekesség, hogy az előnyök egy kiemelt szempontja, a hedonikus motiváció három vizsgálatban is a második legerősebb tényező volt (Garidis et al., 2020; Benleumi et al., 2017; Yuen et al., 2020), azonban ez sem a magyar, sem a szlovén adatokon nem igazolódott. Érdekesség, hogy hátrányt, bizonytalanságot, félelmet megtestesítő tényező csak a magyar, szlovén és kínai mintán volt szignifikáns, a többi kutatásban ilyen elem nem rajzolódott ki (4.7. táblázat).
 
4.7. táblázat. Az eredmények összehasonlítása
A mi kutatásunk
Magyarország
Szlovénia
Németország
Németország, USA
Vietnám
Kína
Kína
Az önvezető technológia várt előnyei
A technológia iránt érdeklődő személyek
Biztonság
Teljesítménykockázat
Észlelt viselkedéskontroll
Észlelt félelem
Adoptálási szándék
Új technológiák iránti lelkesedés
Az önvezető járművek észlelt személyes és társadalmi előnyei
Hedonista motiváció
Hedonista motiváció
Hedonista motiváció
Bizalom
Bizalom
Önvezető technológia iránti információigény
Az önvezető jármű észlelt biztonsága
Kontroll iránti vágy
Társadalmi befolyás
Telejsítményelvárás
Észlelt kockázat
Önbizalom
Önvezető technológia várt hátrányai
Az önvezető járművekkel kapcsolatos technikai és jogi aggályok
Költség
Személyes IT-innovativitás
Ár-érték arány
Észlelt előny
Szubjektív normák
Vezetéstámogató eszközök ismertsége
Az önvezető járművek észlelt mobilitási hasznossága
Társadalmi befolyás
Kontroll iránti vágy
Erőfeszítés elvárása
Tömegkom-munikáció
Új technológiák észlelt hasznossága
Az önvezető jármű észlelt biztonsága
Biztonság
Bizalom
Szokás
Forrás: saját szerkesztés
 
Ez a kutatás PLS–SEM-módszertan alkalmazásával vizsgálta, hogyan hatnak különböző tényezők közvetlenül vagy közvetve az önvezető technológia elfogadására Magyarországon. 1001 elemű reprezentatív mintán vizsgáltuk a modellünket, amelyben a célvátozó és az egyes faktorok közötti közvetett és közvetlen kapcsolatokat is vizsgáltunk, ezáltal mélyebb összefüggések feltárására is lehetőségünk nyílt. Tudomásunk szerint Magyarországra vonakozóan ilyen volumenű és módszertanú vizsgálat nem történt.
Vizsgálatunk eredménye szerint a közvetlen kapcsolatok alapján Magyarországon az önvezető technológia várt előnyei és az új technológiák iránti lelkesedés van legnagyobb hatással az önvezető technológia elfogadására. Közel azonos, de gyengébb hatása van az önvezető technológia iránti információigénynek, az önvezető technológia várt hátrányainak, a vezetéstámogató eszközök ismertségének és az új technológiák észlelt hasznosságának.
A hatások mechanizmusának feltérképezése során jelentős eredménynek tartjuk, hogy megállapítottuk: nem elegendő csak a közvetlen hatásokat vizsgálni. Ehelyett a közvetett hatások (amelyek más tényezők által közvetítettek) szintén kulcsfontosságúak annak meghatározásában, hogy mely tényezők gyakorolják a legnagyobb befolyást az önvezető technológia elfogadására. Ezt figyelembe véve az önvezető technológia várható előnyei és az új technológiák iránti lelkesedés bizonyul a legnagyobb (és majdnem azonos) hatásúnak az önvezető technológia elfogadásában Magyarországon. Az önvezető technológia iránti információigények és a vezetéstámogató rendszerek ismertsége valamivel gyengébb hatással bír. Ugyanakkor az utóbbi két tényező esetében a teljes hatás kétszer akkora, mint a közvetett hatás.
Kiemeljük, hogy az egyes faktorok között szerepeltek olyan változók is (pl. más technológiákhoz való viszony), amelyek más PLS-modellekben kevéssé kaptak helyet, azonban a nemzetközi tapasztalatok szerint nagymértékben alkalmasak az önvezető technológia elfogadásának meghatározására.
Kutatási eredményeink nagyon fontos információkat szolgáltathatnak ahhoz, hogy az önvezető technológiákat ne csak a fejlett országok innovációs rendszerébe illesszék sikeresen, hanem a kevésbé fejlett országokéba is.

Az önvezető járművek és a városi társadalom

Tartalomjegyzék


Kiadó: Akadémiai Kiadó

Online megjelenés éve: 2025

ISBN: 978 963 664 154 2

Az önvezető járművek elterjedése új kihívások elé állítja a városokat. A technológia ígéretes, de a sikeres integráció nemcsak műszaki kérdés: kulcsszerep jut a városi döntéshozóknak és az érintett közösségeknek is. E monográfia a felelősségteljes innováció szemléletében vizsgálja, hogyan készülhetnek fel a városok az önvezető járművek érkezésére. Interdiszciplináris kutatásra építve mutatja be a városi lakosság és az önkormányzatok attitűdjeit, kockázatérzékelését és elvárásait. A kötet nem csupán a jelenlegi állapotot tárja fel, hanem gyakorlati keretrendszert is kínál a városi önvezetőjármű-felkészültség növelésére. Hasznos olvasmány kutatók, szakpolitikusok, városfejlesztők és mindazok számára, akik tenni szeretnének a technológiai átmenet társadalmilag elfogadott és sikeres megvalósításáért.

Hivatkozás: https://mersz.hu/lukovics-az-onvezeto-jarmuvek-es-a-varosi-tarsadalom//

BibTeXEndNoteMendeleyZotero

Kivonat
fullscreenclose
printsave