Biofizika és orvostechnika alapjai
2., átdolgozott kiadás
V.7.7. Tipikus eszközök bemutatása
Tartalomjegyzék
- Biofizika és orvostechnika alapjai (2. átdolgozott kiadás)
- Impresszum
- I. Bevezető
- II. Az orvostechnika alapjai: Általános tudnivalók
- II.1. Orvostechnikai eszközök (Kovács Norbert)
- II.1.1. A technikai eszközök szerepe
- II.1.2. A technológia fejlődése
- II.1.3. Az orvostechnikai eszköz
- II.1.3.1. Az Európai Unió orvostechnikai eszközökre vonatkozó rendeletei
- II.1.3.2. Az orvostechnikai eszköz fogalma
- II.1.3.3. Az orvostechnikai eszközökre vonatkozó követelmények
- II.1.3.4. Az orvostechnikai eszközök alapvető követelményei
- II.1.3.5. Az orvostechnikai eszközök forgalomba kerülése
- II.1.3.6. Az orvostechnikai eszközök címkéi és a címkén megjelenő jelképek
- II.1.3.1. Az Európai Unió orvostechnikai eszközökre vonatkozó rendeletei
- II.1.4. Az orvostechnikai eszközök használatának módja
- II.1.5. Az orvostechnikai eszközökkel bekövetkezett rendellenes események
- II.1.6. Az orvostechnikai eszközök időszakos felülvizsgálata
- II.1.7. Orvostechnikai eszközök kockázati osztályai
- II.1.8. Orvostechnikai eszközök preklinikai és klinikai értékelése
- II.1.9. Mit tegyen a beteg?
- II.1.10. Ellenőrző kérdések
- II.1.1. A technikai eszközök szerepe
- II.2. Fiziológiai jelek mérése (Zombory Péter)
- II.2.1. Miért kell mérni?
- II.2.2. Méréstechnikai alapfogalmak
- II.2.3. Az SI mértékegységrendszer
- II.2.4. A prefixumok
- II.2.5. Az analóg és a digitális mérés
- II.2.6. A fiziológiai jelek mérésének sajátosságai
- II.2.7. A fiziológiai jelek mérésének módszerei
- II.2.8. A méréseket befolyásoló tényezők
- II.2.9. Előírt jelzések
- II.2.10. Mit tegyen a páciens?
- II.2.11. Ellenőrző kérdések
- II.2.1. Miért kell mérni?
- II.3. Villamos biztonság technika (Zombory Péter)
- II.1. Orvostechnikai eszközök (Kovács Norbert)
- III. Információszerzés fiziológiai paraméterekről: diagnosztikai eszközök
- III.1. Elektrokardiográfok
- III.1.1. Az elektrokardiográf jelentősége
- III.1.2. EKG elmélete
- III.1.3. Az elektrokardiográfia csoportosítása
- III.1.3. EKG elvezetések
- III.1.4. Standard-12 elvezetés és egyéb elvezetések
- III.1.5. Gépi diagnózisképzés
- III.1.6. Szűrők
- III.1.7. „Zajos” EKG
- III.1.8. EKG-készülékek jellemzői, fajtái
- III.1.9. Mit tegyen a beteg?
- III.1.10. Ellenőrző kérdések
- III.1.1. Az elektrokardiográf jelentősége
- III.2. Elektroenkefalográfok, elektromiográfok (EEG, EMG)
- III.2.1. Neurofiziológiás vizsgálatok
- III.2.2. A neurofiziológiás vizsgálóhelyiség kialakítása
- III.2.3. Központi idegrendszer vizsgálata: elektroenkefalográf (EEG)
- III.2.4. Perifériás idegrendszer vizsgálata: ENG – elektroneurográf
- III.2.5. Kiváltott potenciál vizsgálatok: EP – Evoked Potential
- III.2.6. VEP-vizsgálat
- III.2.7. BAEP-vizsgálat
- III.2.8. SSEP-vizsgálat
- III.2.9. Elektromiográf (EMG)
- III.2.10. Mit tegyen a beteg?
- III.2.11. Ellenőrző kérdések
- III.2.1. Neurofiziológiás vizsgálatok
- III.3. Vérnyomás mérése
- III.4. A testhőmérséklet mérése
- III.4.1. Bevezető
- III.4.2. A testhőmérséklet
- III.4.3. Biofizikai alapok
- III.4.4. Technikai alapok
- III.4.5. Villamos tulajdonságváltozáson alapuló hőmérés. Elektronikus hőmérők
- III.4.6. Színváltozáson alapuló hőmérés. Folyadékkristályos hőmérők
- III.4.7. Infravörös sugárzáson alapuló hőmérők
- III.4.8. Ellenőrző kérdések
- III.4.1. Bevezető
- III.5. Légzésvizsgálat – spirometria
- III.6. Betegőrző monitor
- III.6.1. A monitorozás
- III.6.2. A betegőrzés fogalma
- III.6.3. Az őrzőmonitorok feladata
- III.6.4. A betegőrző rendszerek felépítése
- III.6.5. Ágy melletti, modul rendszerű monitorok
- III.6.6. Ágy melletti, modul rendszerű (mobil modulos) monitorok
- III.6.7. Ágy melletti, kompakt monitorok
- III.6.8. Központi monitor
- III.6.9. Az őrzőmonitor működése
- III.6.10. Legfontosabb élettani jelek, mért paraméterek
- III.6.11. Hibaforrások és karbanratás
- III.6.12. Ellenőrző kérdések
- III.6.1. A monitorozás
- III.7. Hallásvizsgálat
- III.8. Látásélesség vizsgálata
- III.1. Elektrokardiográfok
- IV. Információszerzés térben: képalkotó diagnosztika
- IV.1. Endoszkópos diagnosztika és sebészet
- IV.1.1. Mi az endoszkópia?
- IV.1.2. Az endoszkópok működése
- IV.1.3. Endoszkóp eszközök
- IV.1.4. Kapszulaendoszkóp
- IV.1.5. Alkalmazási útmutatások
- IV.1.6. Egy tipikus endoszkópos diagnosztikai eszköz
- IV.1.7. Egy tipikus torony
- IV.1.8. Karbantartás
- IV.1.9. Robotendoszkóp
- IV.1.10. Mit tegyen a beteg?
- IV.1.11. Ellenőrző kérdések
- IV.1.1. Mi az endoszkópia?
- IV.2. Hagyományos Rtg. képalkotás és a CT
- IV.2.1. Az rtg. képalkozás kezdetei
- IV.2.2. A röntgensugárzás keletkezése
- IV.2.3. A röntgen képalkotás elve
- IV.2.4. A röntgenkép tulajdonságai
- IV.2.5. Diagnosztikus röntgenkészülékek fajtái
- IV.2.6. A röntgenberendezés főbb részegységei
- IV.2.7. A Computed Tomograph (CT)
- IV.2.8. Mit tegyen a beteg?
- IV.2.9. Ellenőrző kérdések
- IV.2.1. Az rtg. képalkozás kezdetei
- IV.3. Mágneses rezonanciás képalkotás
- IV.3.1. Mi az MRI?
- IV.3.2. Az MRI története
- IV.3.3. Az MRI osztályozása
- IV.3.4. Mit mutat meg az MRI?
- IV.3.5. Az MRI elve
- IV.3.6. A felvételek súlyozása, szöveti kontrasztok
- IV.3.7. Modern MRI-technikák
- IV.3.8. Kontrasztanyagok
- IV.3.9. Műtermékek
- IV.3.10. Az fMRI
- IV.3.11. Egy tipikus eszköz
- IV.3.12. MRI-kompatibilis műszerek, eszközök
- IV.3.13. Várható kockázatok
- IV.3.14. Mit tegyen a beteg?
- IV.3.15. Ellenőrző kérdések
- IV.3.1. Mi az MRI?
- IV.4. Nukleáris diagnosztika
- IV.5. Ultrahangos diagnosztika
- IV.5.1. Mi az ultrahangos diagnosztika?
- IV.5.2. A hangok felosztása
- IV.5.3. Fiziológiai hatások
- IV.5.4. Ultrahangos készülékek
- IV.5.5. Új technikák az ultrahang-diagnosztikában
- IV.5.6. Alkalmazási útmutatások
- IV.5.7. A kép minőségét befolyásoló további tényezők
- IV.5.8. Egy tipikus eszköz bemutatása
- IV.5.9. Karbantartás
- IV.5.10. Mit tegyen a beteg?
- IV.5.11. Ellenőrző kérdések
- IV.5.1. Mi az ultrahangos diagnosztika?
- IV.1. Endoszkópos diagnosztika és sebészet
- V. Az információ felhasználása: terápiás eszközök
- V.1. Lézerterápia
- V.2. Radioterápia
- V.3. Kisfrekvenciás elektroterápia
- V.3.1. Mi a kisfrekvenciás elektroterápia?
- V.3.2. Az emberi szervezet jelenségei villamos áram hatására
- V.3.3. Harántcsíkolt izmok reakciója elektromos impulzusokra
- V.3.4. Gyakori ingerterápiás áramformák
- V.3.4.1. Egyenáramú kezelés
- V.3.4.2. Impulzuskezelés
- V.3.4.3. Diadinamikus kezelés
- V.3.4.4. Sokkimpulzus-kezelés
- V.3.4.5. Interferencia-áramú kezelés
- V.3.4.6. Transzkután elektromos idegstimulációs (TENS) kezelés
- V.3.4.7. Kombinált kezelések
- V.3.4.8. Elektro-akupunktúra
- V.3.4.9. Implantált idegstimulátorok
- V.3.4.10. A szív ingerterápiája
- V.3.4.1. Egyenáramú kezelés
- V.3.5. Alkalmazási útmutatások
- V.3.6. Egy tipikus eszköz bemutatása
- V.3.7. Karbantartás
- V.3.8. Hibaforrások
- V.3.9. Mit tegyen a beteg?
- V.3.10. Ellenőrző kérdések
- V.3.1. Mi a kisfrekvenciás elektroterápia?
- V.4. Defibrillátorok és szívritmusszabályozók
- V.4.1. A defibrillátor feladata, jelentősége, a terápia célja
- V.4.2. Élettani alapok
- V.4.3. Biofizikai alapok
- V.4.4. Bifázisos defibrillátorok
- V.4.5. Defibrillátorok jellemzői
- V.4.6. Defibrillátorok alkalmazása
- V.4.7. Egy tipikus automata defibrillátor
- V.4.8. Ellenőrző kérdések
- V.4.9. Szívritmus-szabályozók (pacemakerek)
- V.4.11. Biofizikai alapok
- V.4.12. Pacemakerek működési elve
- V.4.13. Egy tipikus beültethető pacemaker
- V.4.14. Mit tegyen a beteg?
- V.4.15. Ellenőrző kérdések
- V.4.1. A defibrillátor feladata, jelentősége, a terápia célja
- V.5. Nagyfrekvenciás sebészeti vágók
- V.5.1. A sebészek segítője
- V.5.2. A nagyfrekvenciás áram tulajdonságai
- V.5.3. A nagyfrekvenciás árammal történő vágás elmélete
- V.5.4. A monopoláris módszer
- V.5.5. A bipoláris módszer
- V.5.6. A semleges elektród
- V.5.7. Felégések
- V.5.8. Felégések lehetséges okai
- V.5.9. Mit kell tenni a személyzetnek?
- V.5.10. Ellenőrző kérdések
- V.5.1. A sebészek segítője
- V.6. Csecsemőinkubátorok
- V.7. Infúziós eszközök
- V.7.1. Mi az infúziós terápia?
- V.7.2. Élettani alapok
- V.7.3. Nyomásviszonyok folyadékokban
- V.7.4. Infúziós eszközök
- V.7.5. Infúziós pumpák jellemzői és szolgáltatásai
- V.7.6. Alkalmazási útmutatások
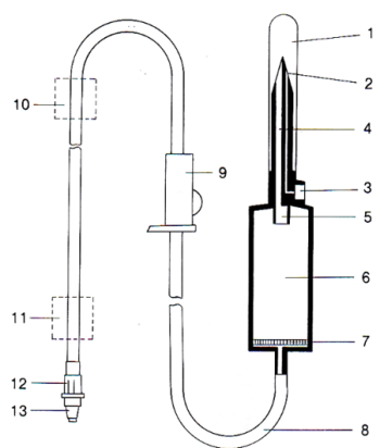
- V.7.7. Tipikus eszközök bemutatása
- V.7.8. Karbantartás
- V.7.9. Hibaforrások
- V.7.10. Mit tegyen a beteg?
- V.7.11. Ellenőrző kérdések
- V.7.1. Mi az infúziós terápia?
- V.8. Az otthonápolás (home care) eszközei
- Irodalomjegyzék
Kiadó: Akadémiai Kiadó
Online megjelenés éve: 2025
ISBN: 978 963 664 096 5
Napjaink gyógyászata számos orvostechnikai eszközt használ. A könyvben ezek közül a néhány leggyakoribb és legfontosabb műszercsoport működési alapjait, használatának szempontjait és lehetőségeit mutatjuk be. Ilyen tájékozottság a diplomás egészségügyi dolgozóktól is elvárható. A könyv nyelvezete közérthető, így az oktatásban az alapozó ismeretek átadására alkalmas. Mindemellett ajánlhatjuk érdeklődő laikusok számára is. A szerzők gyakorlott oktatók, akik a területen több diplomával és gyakorlati ismeretekkel rendelkeznek és jártasok az orvostechnikai szabályozás, a kórházi felhasználás és a szervizelés területén is.
Hivatkozás: https://mersz.hu/dio-kovacs-szekrenyesi-zombory-biofizika-es-orvostechnika-alapjai//
BibTeXEndNoteMendeleyZotero